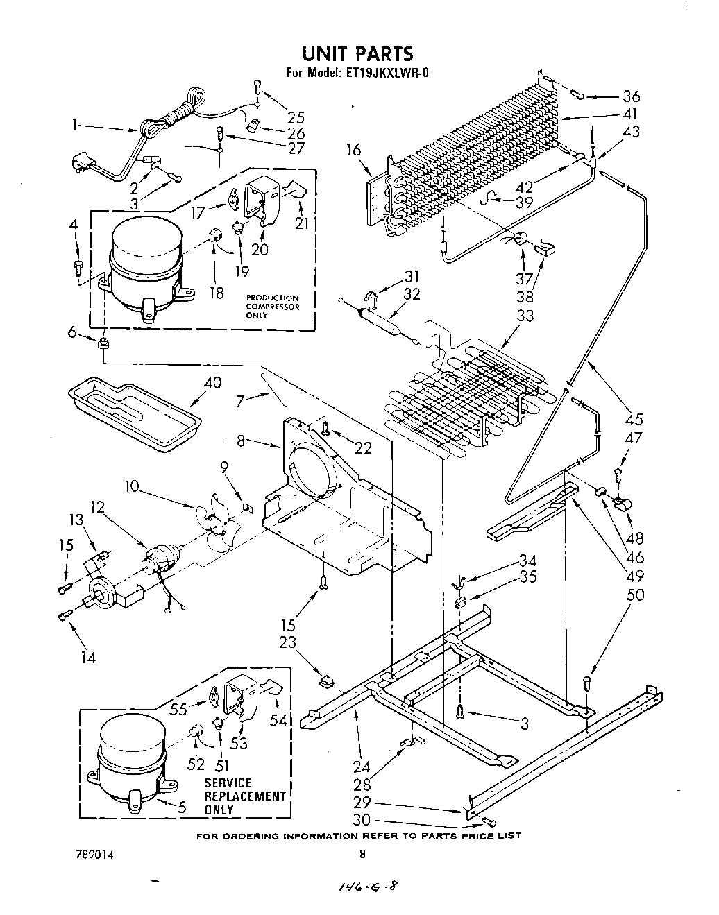
ET19JKXLWR0 05 – UNIT