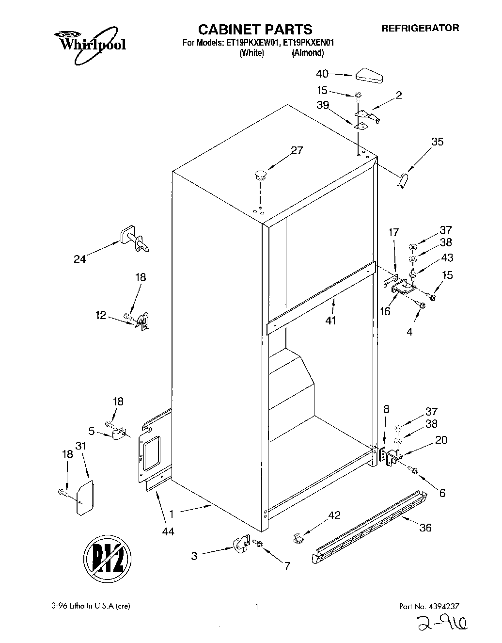
| 1 | Cabinet (Not A Serviceable Part) |
| 2 | Hinge (Top) |
| 3 | WP2166108 Whirlpool Refrigerator Cabinet Roller |
| 4 | Screw |
| 5 | WP488366 Whirlpool Refrigerator Clamp |
| 6 | Screw |
| 7 | Screw |
| 8 | Shim, Bottom Hinge |
| 12 | 549193 Whirlpool Refrigerator Power Clamp |
| 15 | WP999367 Whirlpool Refrigerator Screw |
| 16 | Hinge, Center |
| 17 | Shim, Hinge Center |
| 18 | WP489463 Whirlpool Refrigerator Screw |
| 20 | Hinge Butt |
| 24 | Fitting, Water Tube (Not Serviced) |
| 27 | WP2151652 Whirlpool Refrigerator Button Plug |
| 27 | Hole Plug (6) (Almond) |
| 31 | Cover, Water Valve |
| 35 | Corner Filler (2) (Almond) |
| 35 | WPW10283959 Whirlpool Refrigerator Filler |
| 36 | Grille |
| 36 | Grille (Almond) |
| 37 | WP489467 Whirlpool Hinge Shim |
| 38 | WP487576 Whirlpool Washer |
| 39 | Shim |
| 40 | Cover-Hinge (White) |
| 40 | Cover-Hinge (Almond) |
| 41 | Rail Center (Not Serviced) |
| 42 | Corner Filler, Grille (Almond) |
| 42 | Corner Filler, Grille (White) |
| 43 | WP2254618 Whirlpool Center Door Hinge |
| 44 | Cover, Unit |