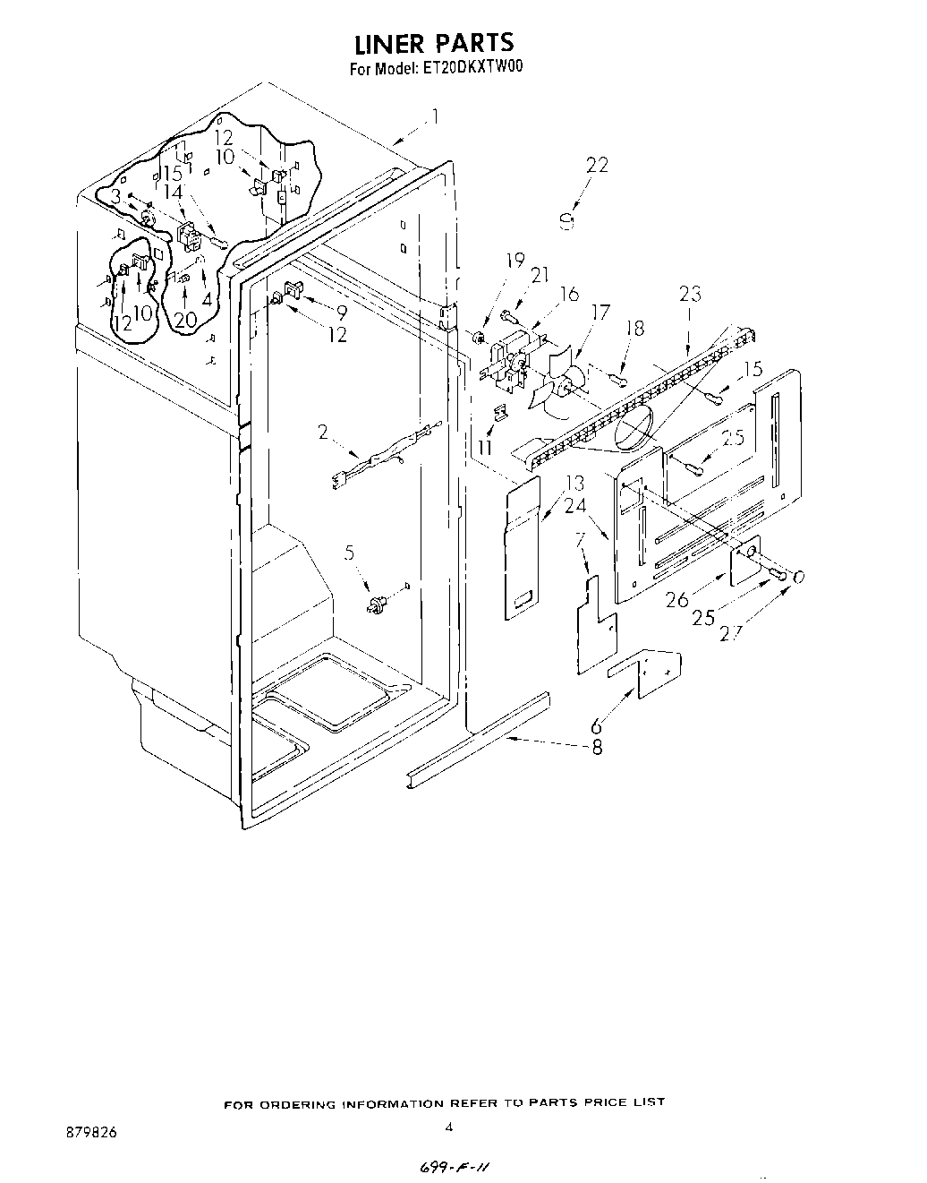
ET20DKXTG00 03 – LINER