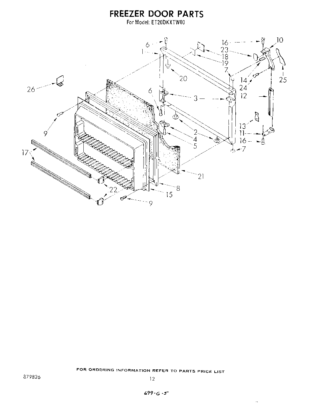
ET20DKXTN00 08 – FREEZER DOOR