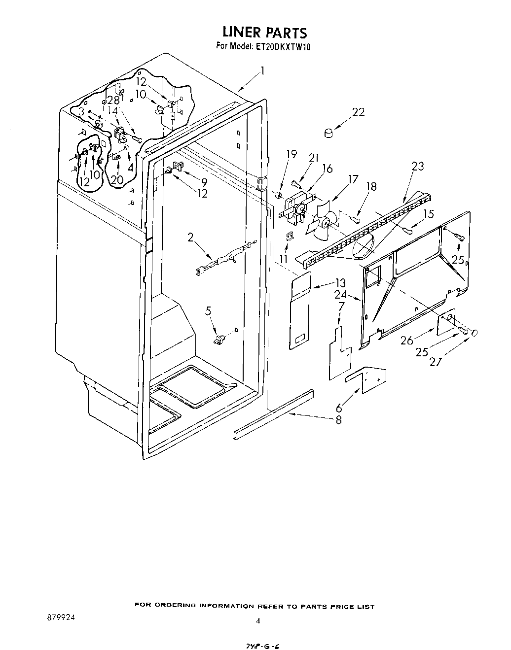
ET20DKXTW10 03 – LINER