ET20DKXVF06 07 – REFRIGERATOR DOORadmin2025-04-26T11:00:17+00:00ET20DKXVF06 07 – REFRIGERATOR DOOR
Products
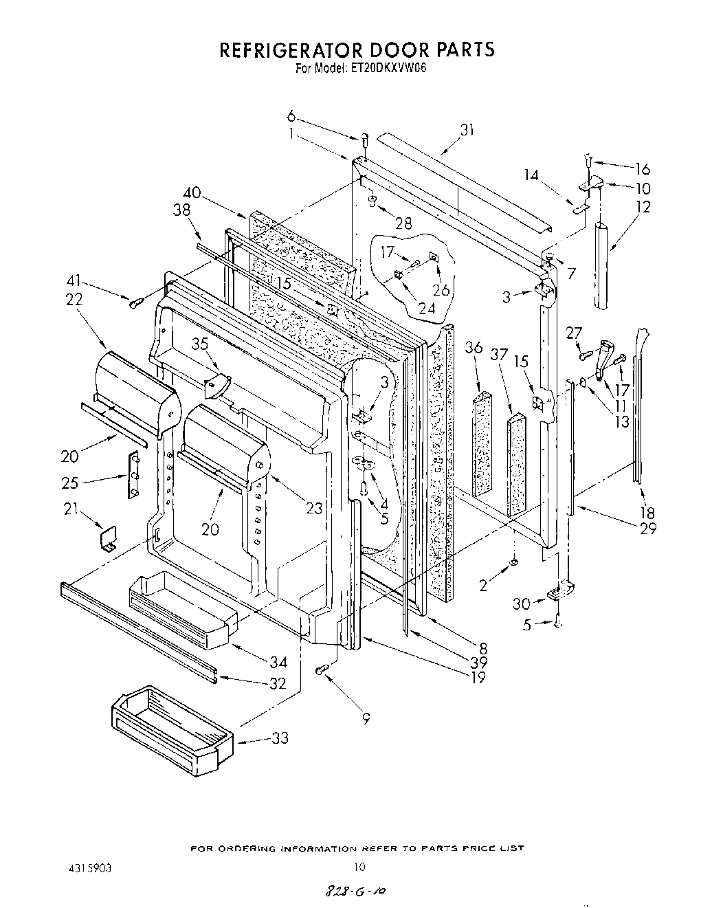
| Position | Product |
|---|
| 1 | Panel, Refrigerator Door (Also Order Item 27) (White) |
| 1 | Panel, Refrigerator Door (Also Order Item 27) (Almond) |
| 1 | Panel, Refrigerator Door (Golden Harvest (Also Order Item 27)) |
| 1 | Panel, Refrigerator Door (Also Order Item 40) (Toast) |
| 1 | Panel, Refrigerator Door (Also Order Item 40) (Platinum) |
| 2 | Hole Plug (2) |
| 3 | W10833053 Whirlpool Refrigerator Plate |
| 4 | Bracket, Door Stop |
| 5 | WP488921 Whirlpool Refrigerator Screw |
| 6 | Screw (Repair) |
| 7 | Hole Plug (Platinum) |
| 7 | Hole Plug (Toast) |
| 7 | WP2212648 Whirlpool Refrigerator Hinge Sleeve Hole Plug |
| 7 | Hole Plug (Almond) |
| 8 | 2188450A Whirlpool Refrigerator Door Gasket |
| 9 | WP489069 Whirlpool Compactor Screw |
| 10 | Handle End |
| 11 | Handle End, Side |
| 12 | Handle, Center |
| 12 | Handle, Center (For Platinum Model Only) |
| 13 | Shim |
| 14 | Spa |
| 15 | WP939101 Whirlpool Refrigerator Plate |
| 16 | WP488920 Whirlpool Refrigerator Screw |
| 16 | Screw (Repair) |
| 17 | WP488729 Whirlpool Refrigerator Door Screw |
| 18 | Insert, Handle |
| 18 | Insert, Handle (For Platinum Model Only) |
| 19 | Interior Door Panel |
| 20 | Trim, Door Compartment |
| 21 | Divider, Shelf |
| 22 | Compartment Door, Left Side |
| 23 | Compartment Door, Right Side |
| 24 | Clip, Medallion |
| 25 | Pin Plate (8) |
| 26 | Medallion |
| 27 | Screw |
| 28 | Cap, Hinge Sleeve (2) |
| 29 | Retainer, Insert |
| 30 | WPL 1105804 |
| 31 | Trim, Door |
| 32 | Trim, Door Shelf |
| 33 | Bin, Door Shelf (2) |
| 34 | Bin, Door Shelf (Deep) (2) |
| 35 | WP1118001 Whirlpool Hinge Pin |
| 36 | WPL 1122711 |
| 37 | WPL 1122709 |
| 38 | Gasket, Retainer |
| 39 | Gasket Retainer, Top & Bottom |
| 40 | WPL 876029 |