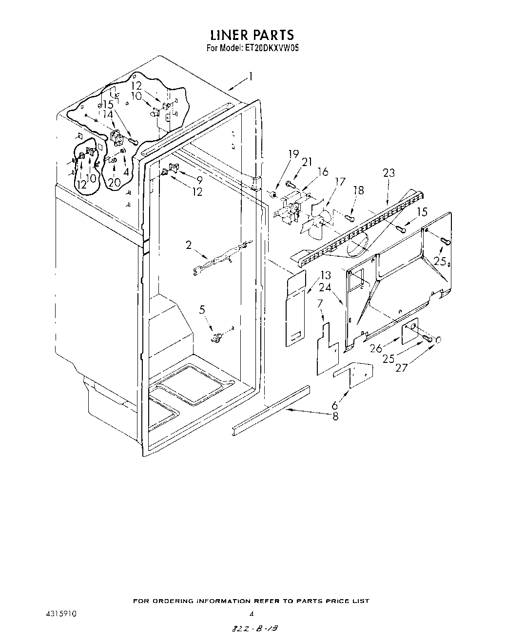
ET20DKXVG05 03 – LINER