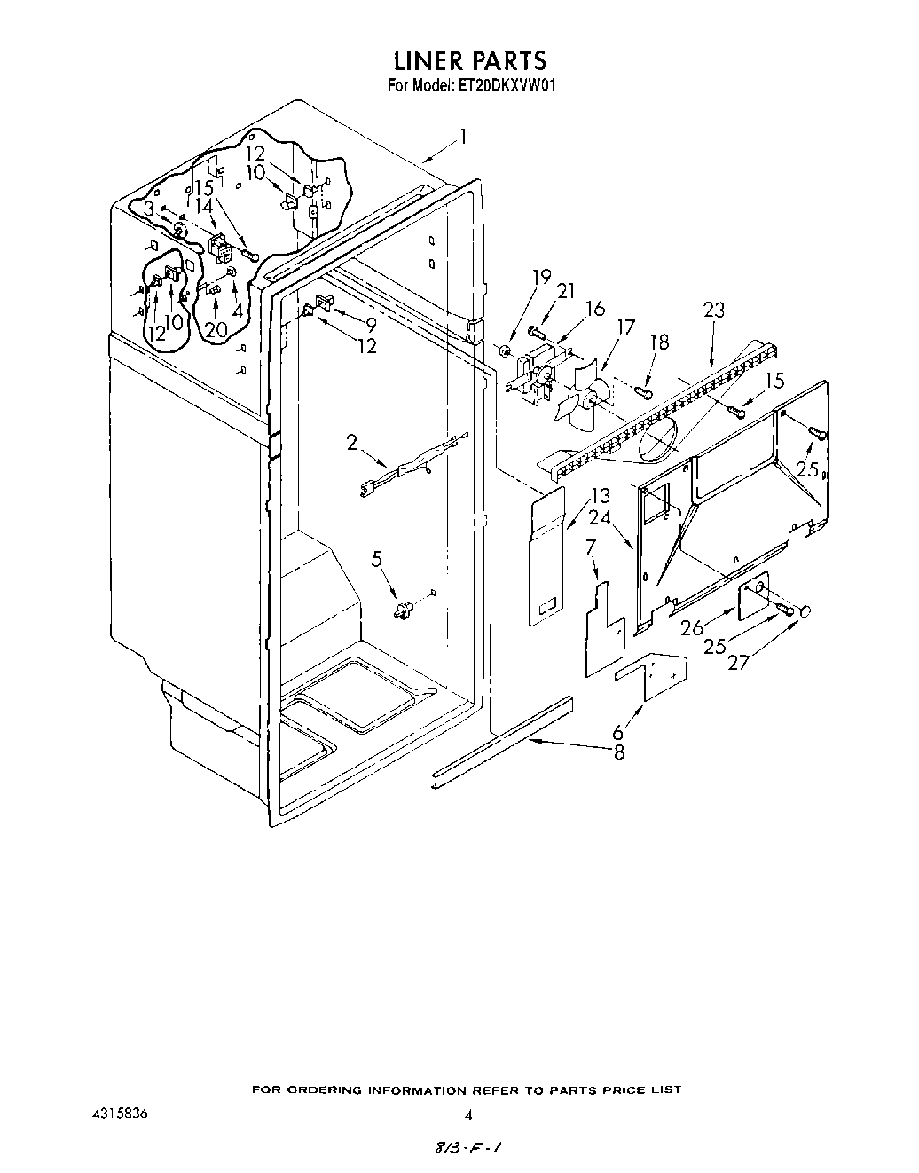
ET20DKXVM01 03 – LINER