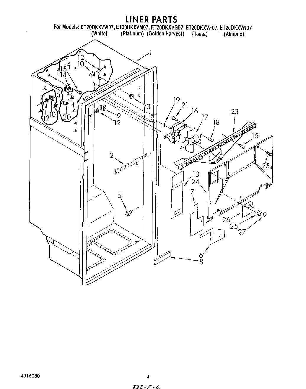
ET20DKXVN07 03 – LINER