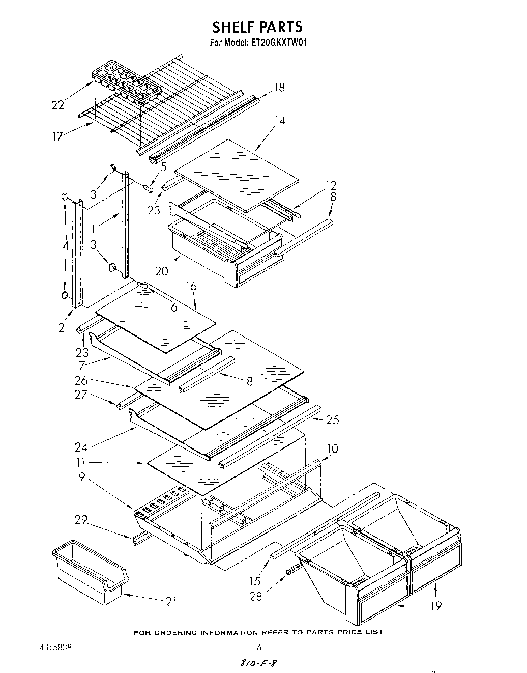
ET20GKXTM01 05 – SHELF