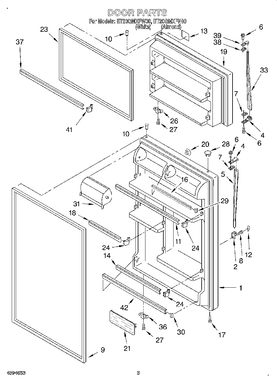
ET20GMXFN00 02 – DOOR