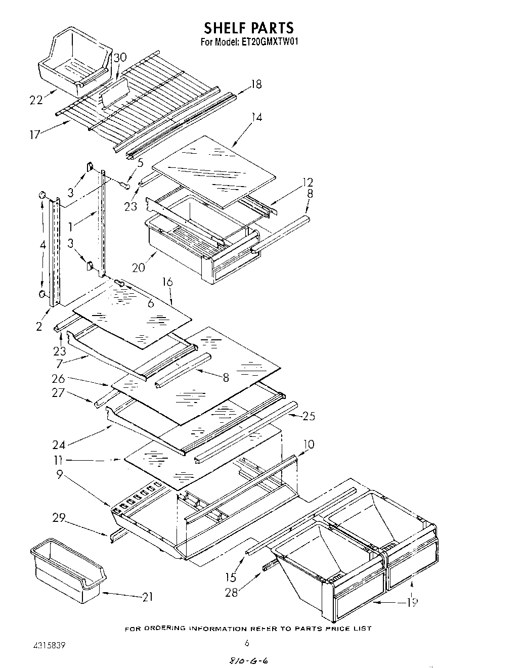
ET20GMXTF01 05 – SHELF