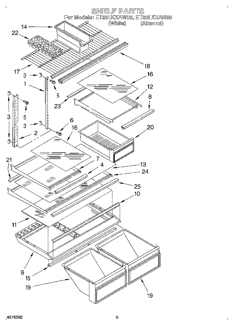
ET20LKXAW00 04 – SHELF