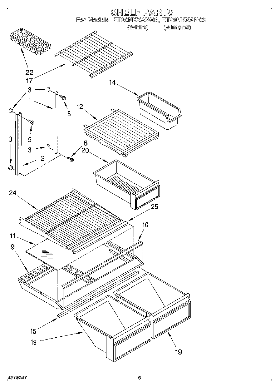
ET20NKXAN03 04 – SHELF