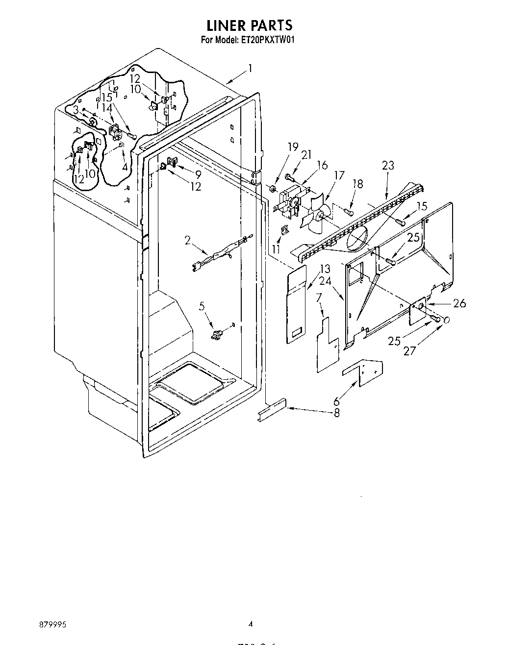
ET20PKXTN01 03 – LINER