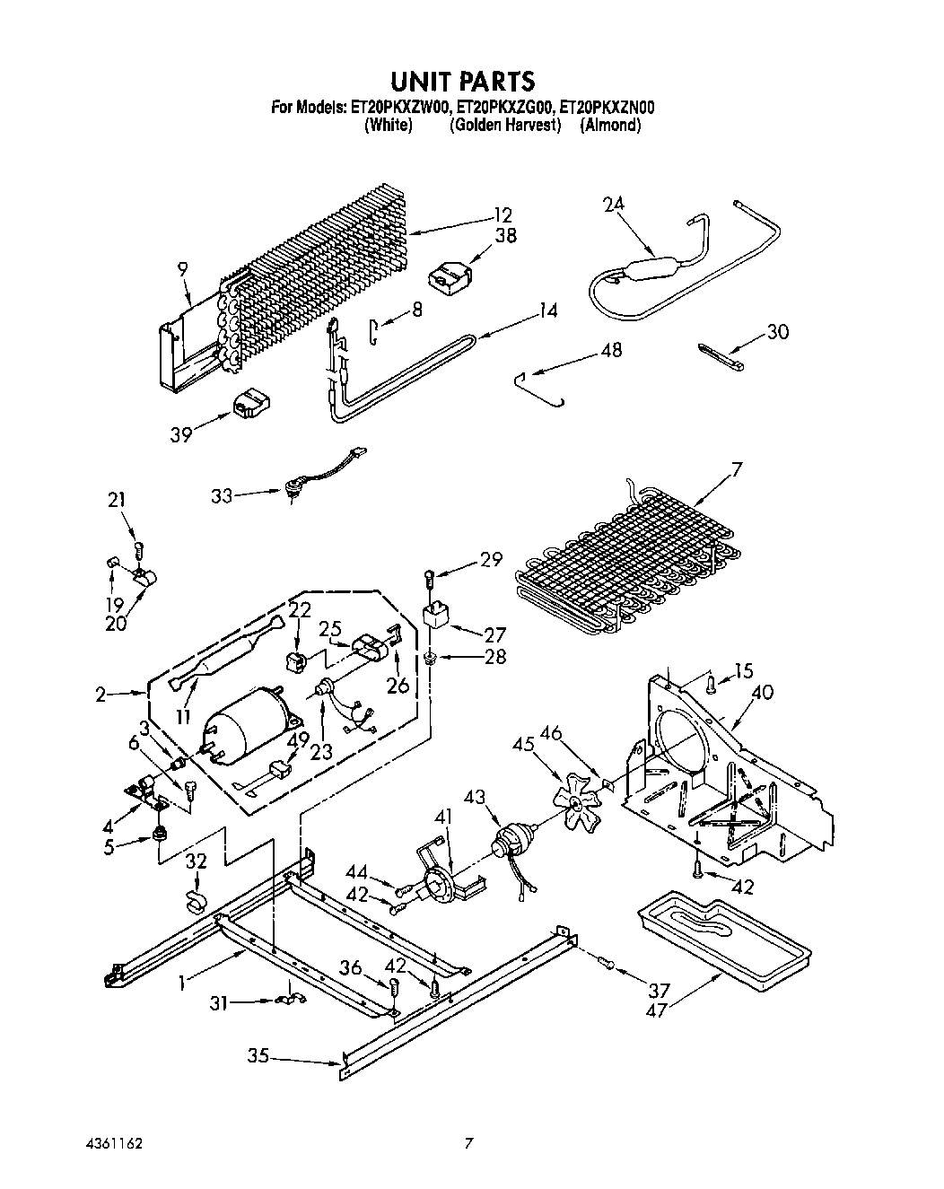
| 1 | Unit, Frame |
| 2 | Compressor Kit (Includes Items 11, 22, 23, 25, 26, 27) (Service Compressor May Look Different Than O |
| 3 | Grommet, Compressor Bracket |
| 4 | Bracket, Mounting |
| 5 | Grommet, Compressor (4) |
| 5 | 876811 Whirlpool Grommet |
| 6 | Screw (4) |
| 7 | Condenser Assembly |
| 8 | Support, Heater |
| 9 | Drain Pan/ Heat Shield |
| 11 | W10843121 Whirlpool Refrigerator Tube |
| 12 | Evaporator |
| 14 | Heater, Defrost |
| 19 | Dampener (2) |
| 20 | Clamp Tube |
| 21 | WPW10141625 Whirlpool Refrigerator Screw Assembly |
| 22 | Relay (See Overload) |
| 23 | Overload |
| 23 | OVERLOAD |
| 24 | Muffler |
| 25 | Terminal Cover (Service) |
| 25 | Cover |
| 26 | Strap, Cover |
| 26 | Strap |
| 27 | Running Capacitor (Service) |
| 27 | WPW10662129 Whirlpool Refrigerator Run Capacitor |
| 28 | Screw Grommet |
| 29 | WP489478 Whirlpool Refrigerator Screw |
| 30 | WPW10339879 Whirlpool Wire Tie |
| 31 | Clip (2) |
| 32 | Clip, Wire (2) |
| 33 | WP4387503 Whirlpool Refrigerator Bimetal Defrost Thermostat |
| 35 | Unit Mounting Rail |
| 36 | WP489427 Whirlpool Refrigerator Screw |
| 37 | 489340 Whirlpool Refrigerator Screw |
| 38 | Support (R.S.) |
| 39 | Support (L.S.) |
| 40 | Air, Baffle |
| 41 | Bracket, Motor |
| 42 | Screw, 8 x 3/8 |
| 43 | 833697 Whirlpool Condenser Fan Motor |
| 44 | 681390 Whirlpool Refrigerator Screw |
| 45 | Fan, Blade |
| 46 | WP486692 Whirlpool Refrigerator Nut |
| 47 | WPW10614158 Whirlpool Refrigerator Evaporator Tray |
| 48 | 1105612 Whirlpool Fan Guard |
| 49 | VALVE, ACCESS (1/2``) |
| 49 | WP978025 Whirlpool Refrigerator Valve |
| 49 | VALVE, ACCESS (5/8``) |
| 49 | 978026 Whirlpool Refrigerator Primary Valve |
| 49 | 978030 Whirlpool Refrigerator Valve |
| 49 | 876764 Whirlpool Refrigerator Primary Valve |
| 49 | 978027 Whirlpool Refrigerator Primary Valve |
| 49 | WP2172890 Whirlpool Refrigerator Wire |