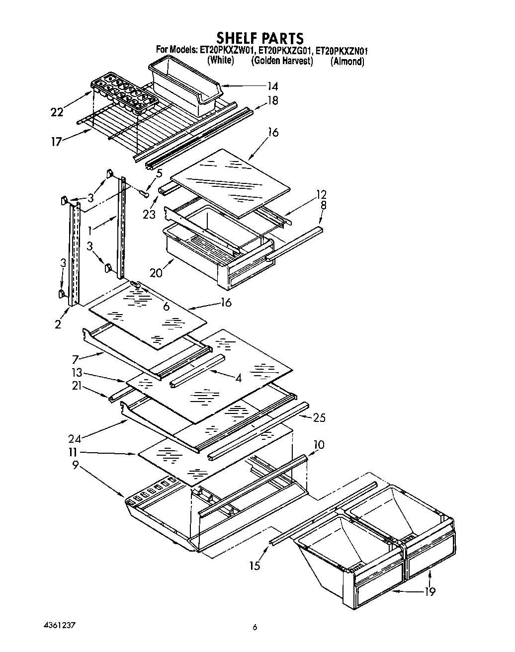
ET20PKXZG01 05 – SHELF