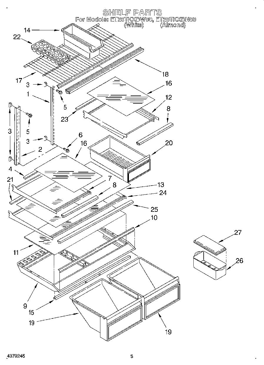
ET20TKXBN00 04 – SHELF