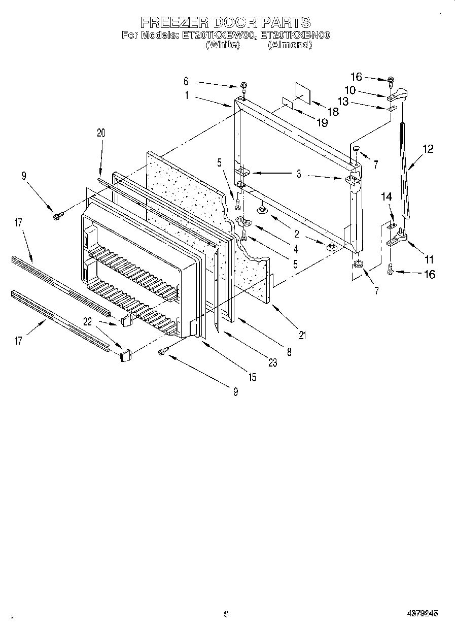
ET20TKXBN00 05 – FREEZER DOORadmin2025-04-26T12:48:19+00:00ET20TKXBN00 05 – FREEZER DOOR ProductsPositionProduct1Panel, Freezer Door (Also Order Item 21) (Almond)1Panel, Freezer Door (Also Order Item 21) (White)2Hole Plug (2)2Hole Plug (2) (Almond)3W10833053 Whirlpool Refrigerator Plate4Bracket, Door Stop5WP488921 Whirlpool Refrigerator Screw6WP8281206 Whirlpool Refrigerator Screw7WP2212648 Whirlpool Refrigerator Hinge Sleeve Hole Plug7Hole Plug (Almond)82188460A Whirlpool Refrigerator Door Gasket9WP489069 Whirlpool Compactor Screw9WP488729 Whirlpool Refrigerator Door Screw10WP2191882 Whirlpool Refrigerator Handle End Cap11WP2191883 Whirlpool Refrigerator Handle Endcap12Handle, Center (Almond)12WP2162555 Whirlpool Refrigerator White Door Handle13Shim, Handle14Spa15Interior Door Panel16WP488920 Whirlpool Refrigerator Screw17Trim, Door Shelf (2)18Nameplate (Almond Model)18Nameplate (White Model)19Tape Strip20Gasket Retainer, Top & Bottom21WPL 876029224386917 Whirlpool Endcap Kit23Retainer, Gasket