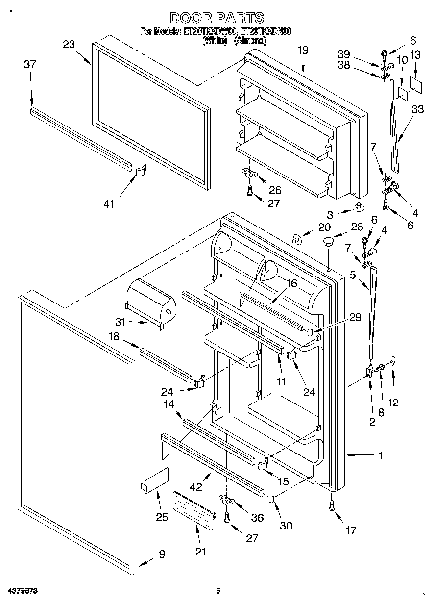
ET20TKXDN00 02 – DOOR