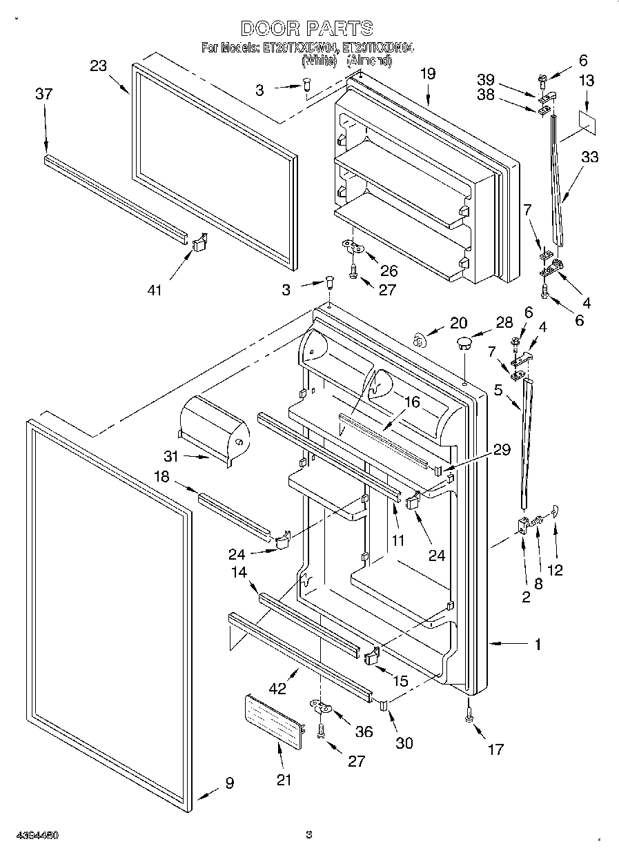
ET20TKXDN04 02 – DOOR