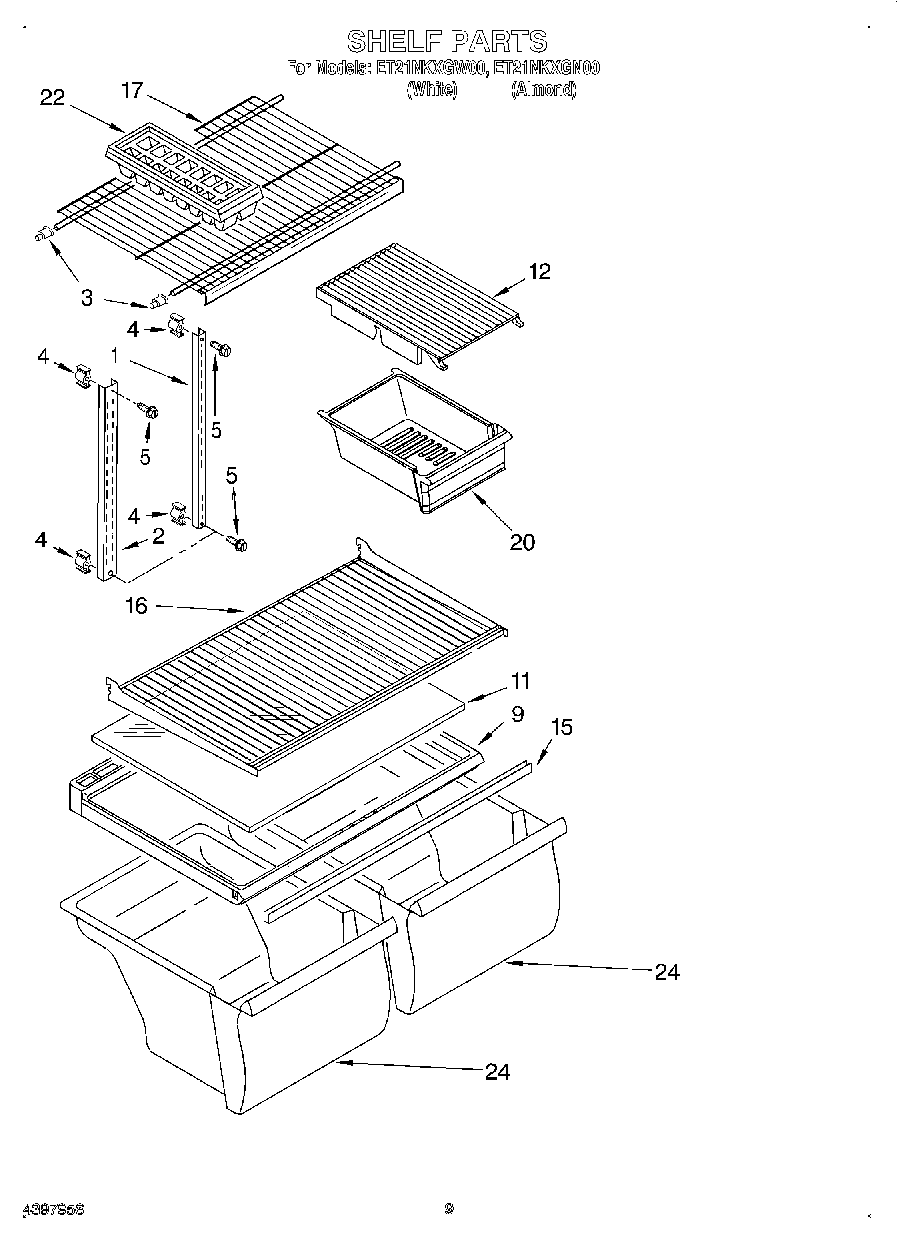
ET21NKXGN00 05 – SHELF, LIT/OPTIONAL