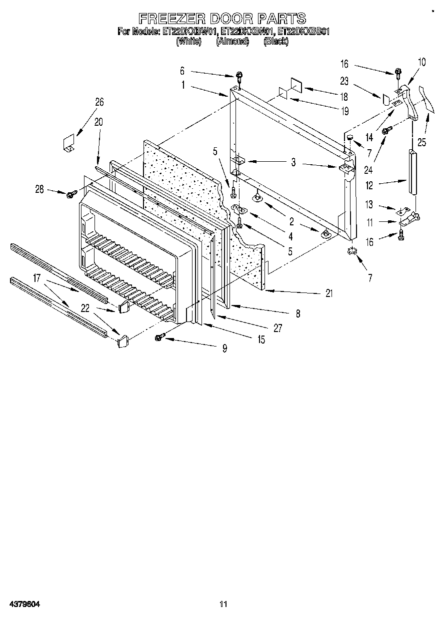
ET22DKXBN01 07 – FREEZER DOOR