ET22DKXDN01 06 – REFRIGERATOR DOORadmin2025-04-26T12:47:13+00:00ET22DKXDN01 06 – REFRIGERATOR DOOR
Products
| Position | Product |
|---|
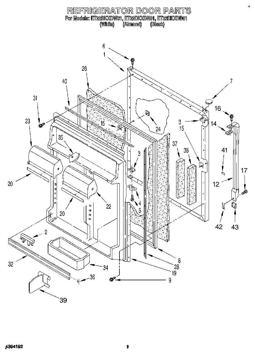
| 1 | Panel, Refrigerator Door (Also Order Item 27) (Almond) |
| 1 | Panel, Refrigerator Door (Black (Also Order Item 27)) |
| 1 | Panel, Refrigerator Door (Also Order Item 27) (White) |
| 2 | Retainer, Bottle |
| 3 | W10833053 Whirlpool Refrigerator Plate |
| 4 | Bracket, Door Stop |
| 4 | Bracket, Door Stop |
| 5 | WP488921 Whirlpool Refrigerator Screw |
| 6 | WP8281206 Whirlpool Refrigerator Screw |
| 7 | Hole Plug (Almond) |
| 7 | WP2212651 Whirlpool Refrigerator Button Plug |
| 7 | WP2212648 Whirlpool Refrigerator Hinge Sleeve Hole Plug |
| 8 | Door Gasket, Magnetic (Black Model) |
| 8 | 2188450A Whirlpool Refrigerator Door Gasket |
| 12 | Handle (White) |
| 12 | Handle (Almond) |
| 12 | Handle (Black) |
| 14 | Shim, Bottom |
| 15 | WP939101 Whirlpool Refrigerator Plate |
| 16 | WP488920 Whirlpool Refrigerator Screw |
| 17 | WP488729 Whirlpool Refrigerator Door Screw |
| 19 | Interior Door Panel |
| 20 | Trim, Door Compartment |
| 22 | Compartment Door |
| 23 | Compartment Door |
| 24 | Hole Plug, Handle (Almond) |
| 24 | WP2189000 Whirlpool Refrigerator Handle Plug |
| 24 | WP2189009 Whirlpool Refrigerator Handle Plug |
| 26 | WPL 876029 |
| 28 | Gasket, Retainer |
| 31 | WP489442 Whirlpool Refrigerator Screw |
| 32 | Trim, Door Shelf |
| 34 | Bin, Door Shelf |
| 35 | WP1118001 Whirlpool Hinge Pin |
| 36 | Plug, Trim (2) |
| 37 | WPL 2174751 |
| 38 | WPL 1122709 |
| 39 | WPL 2171284 |
| 40 | Gasket Retainer, Top & Bottom |
| 41 | Shim |
| 42 | Shim, Handle |
| 43 | Cover, Endcap (Black) |
| 43 | Cover, End Cap (Almond) |
| 43 | Cover, Endcap (White) |