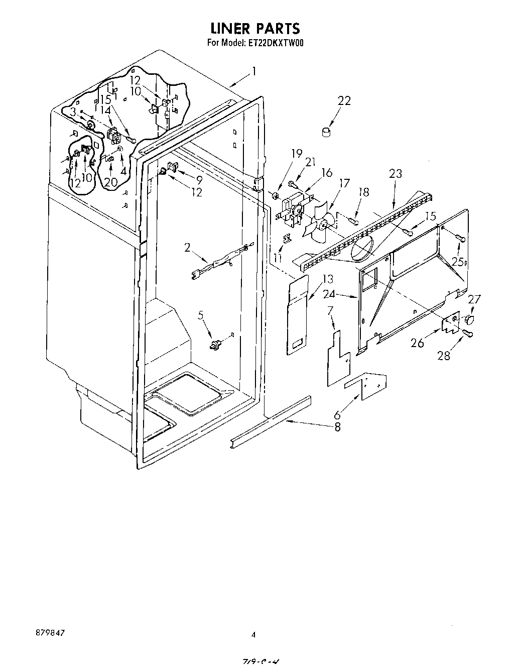
ET22DKXTG00 03 – LINER