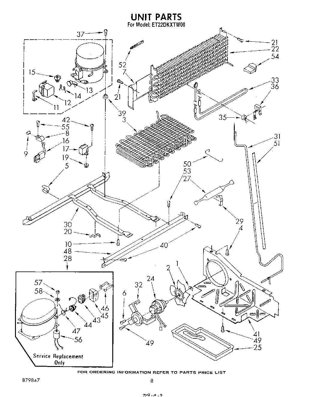
ET22DKXTG00 06 – UNIT

ET22DKXTG00 06 – UNIT