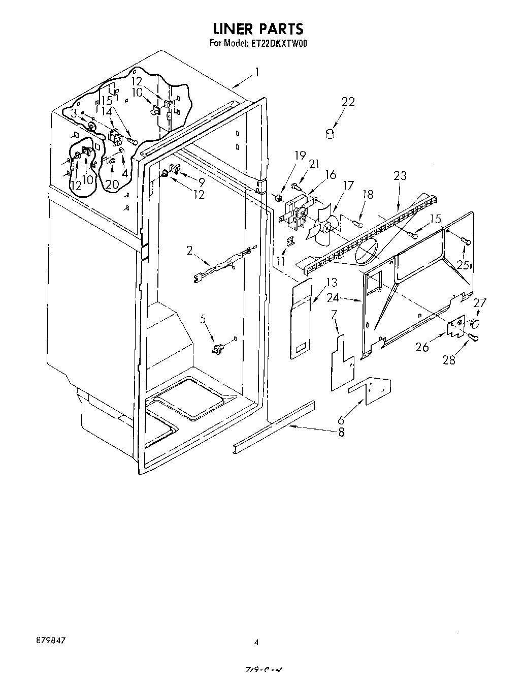
ET22DKXTN00 03 – LINER