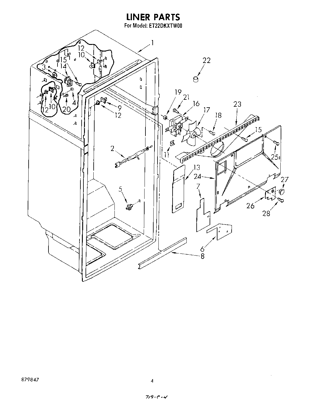
| 1 | Liner (Not A Serviceable Part) |
| 2 | Wiring, Fan Motor |
| 3 | Hole Plug (2) |
| 4 | WP941839 Whirlpool Refrigerator Button Plug |
| 5 | W10854959 Whirlpool Refrigerator Shelf Stud |
| 6 | Electrical, Shield |
| 7 | Electrical Shield |
| 8 | Electrical, Shield |
| 9 | Stud, Front R.S. |
| 10 | 819091 Whirlpool Refrigerator Shelf Stud |
| 11 | Screw, Anchor |
| 12 | Stud, Support |
| 13 | Cover, Air Duct |
| 14 | Terminal Block, Multiple |
| 15 | W11624204 Whirlpool Screw |
| 16 | 482731 Whirlpool Refrigerator Evaporator Fan Motor Kit |
| 17 | WP1100938 Whirlpool Refrigerator Fan Blade |
| 18 | WP487887 Whirlpool Refrigerator Screw |
| 19 | Fan Grommet (2) |
| 20 | Grommet (8) |
| 21 | Screw (2) |
| 22 | Ground Spacer |
| 23 | Scroll, Fan |
| 24 | Evaporator Cover |
| 26 | WP2217784 Whirlpool Refrigerator Cover |
| 27 | Hole Plug |
| 28 | Screw, 8-15 x 1/2 (4) |