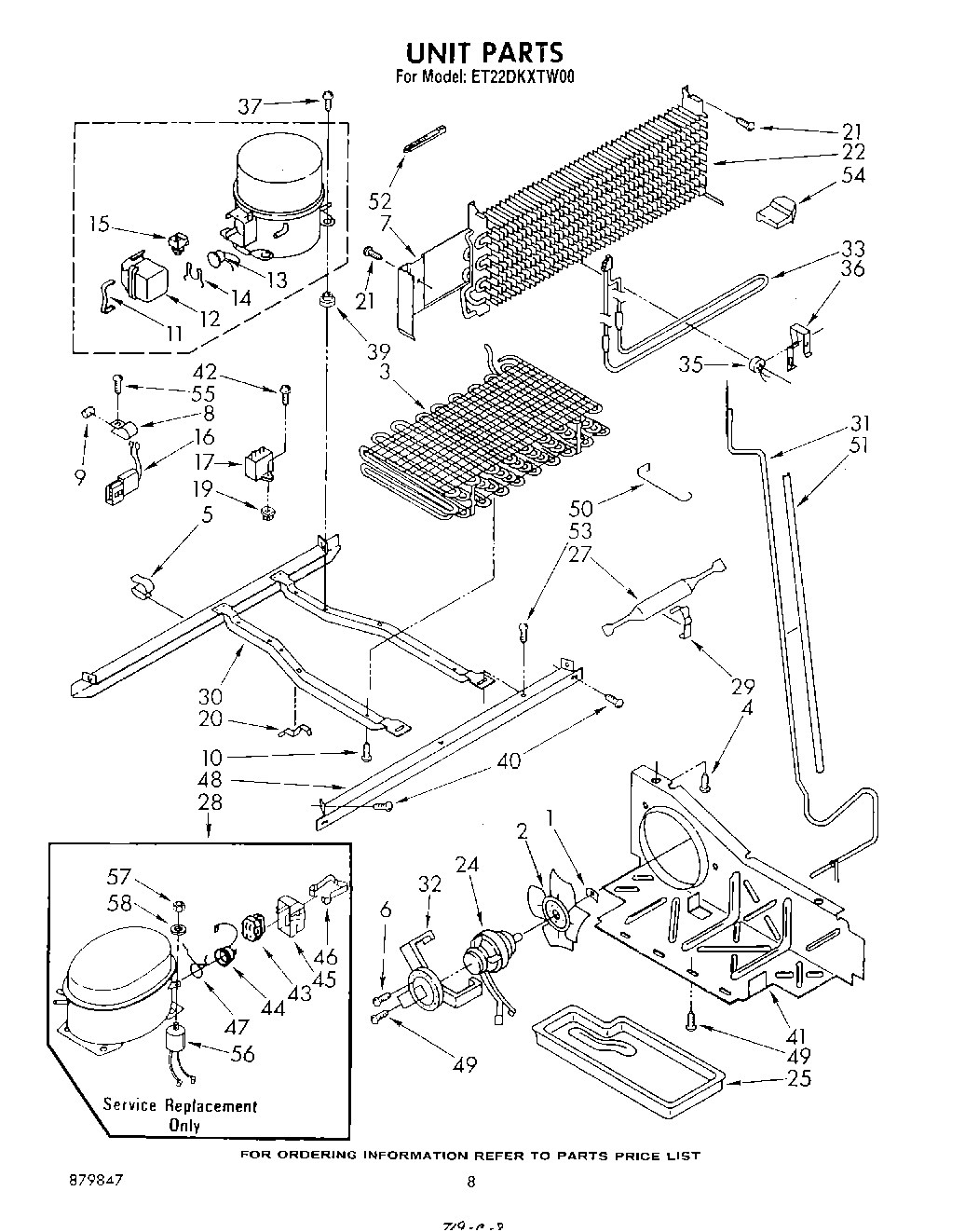
ET22DKXTW00 06 – UNIT

ET22DKXTW00 06 – UNIT