ET6WSMXKQ00 04 – UNIT

ET6WSMXKQ00 04 – UNIT

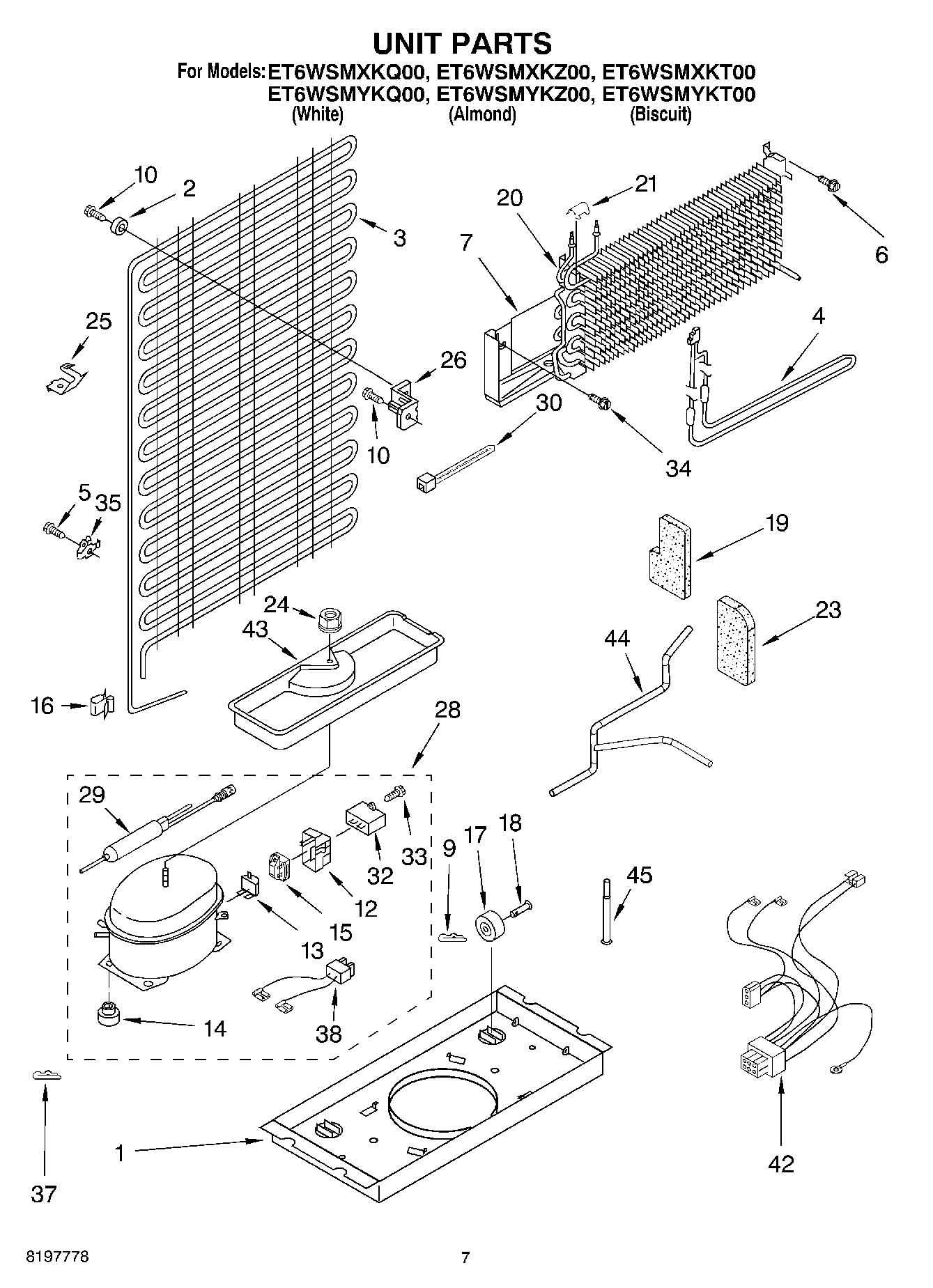
Products

PositionProduct
1WPW10222451 Whirlpool Refrigerator Support
2Bumper
3WP2252730 Whirlpool Refrigerator Condenser
4WP2263749 Whirlpool Defrost Heater Assembly
5WP965173 Whirlpool Dishwasher Screw
6WP489442 Whirlpool Refrigerator Screw
7Heat Shield
9WP2174706 Whirlpool Refrigerator Pin Hitch
10WP488163 Whirlpool Refrigerator Screw
12WP2162358 Whirlpool Refrigerator Terminal Cover
134387913 Whirlpool Refrigerator Primary Overload Relay
13WP2214067 Whirlpool Refrigerator Overload Relay
14WP4387558 Whirlpool Refrigerator Compressor Grommet
14WP2163786 Whirlpool Refrigerator Grommet
15WP2262181 Whirlpool Refrigerator Start Relay
16W10812038 Whirlpool Refrigerator Clip
17WPW10475495 Whirlpool Roller Assembly
18W11594405 Whirlpool Axle
198201619 Whirlpool Refrigerator Support Assembly
20WP2263920 Whirlpool Refrigerator Evaporator
219791833 Whirlpool Refrigerator Clip
24285002 Whirlpool Nut
254386951 Whirlpool Refrigerator Clip
26Bracket, Condenser
28Installation Kit
28876765 Whirlpool Primary Mounting Kit Refrigerator
28W10309988 Whirlpool Refrigerator Compressor
29W10843121 Whirlpool Refrigerator Tube
30WPW10339879 Whirlpool Wire Tie
32WP4387764 Whirlpool Run Capacitor
32WPW10662129 Whirlpool Refrigerator Run Capacitor
33WP489128 Whirlpool Refrigerator Screw
34W11693756 Whirlpool Screw Assembly
35Clip, Tube
37Clip, Compressor
38WP2172890 Whirlpool Refrigerator Wire
42Wire Assy. Unit
43Tray, Evaporator
44Tube, Discharge
45VALVE, ACCESS (5/8``)
45VALVE, ACCESS (1/2``)
45876764 Whirlpool Refrigerator Primary Valve
45978026 Whirlpool Refrigerator Primary Valve
45W11661102 Whirlpool Tube
45978030 Whirlpool Refrigerator Valve
45WP978025 Whirlpool Refrigerator Valve
45978027 Whirlpool Refrigerator Primary Valve