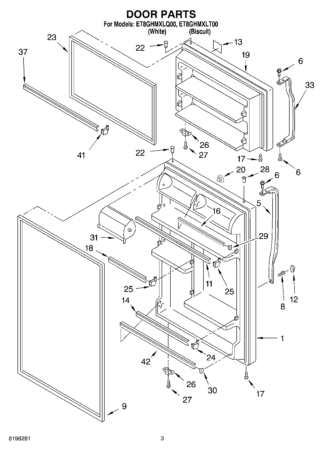
ET8GHMXLT00 02 – DOOR