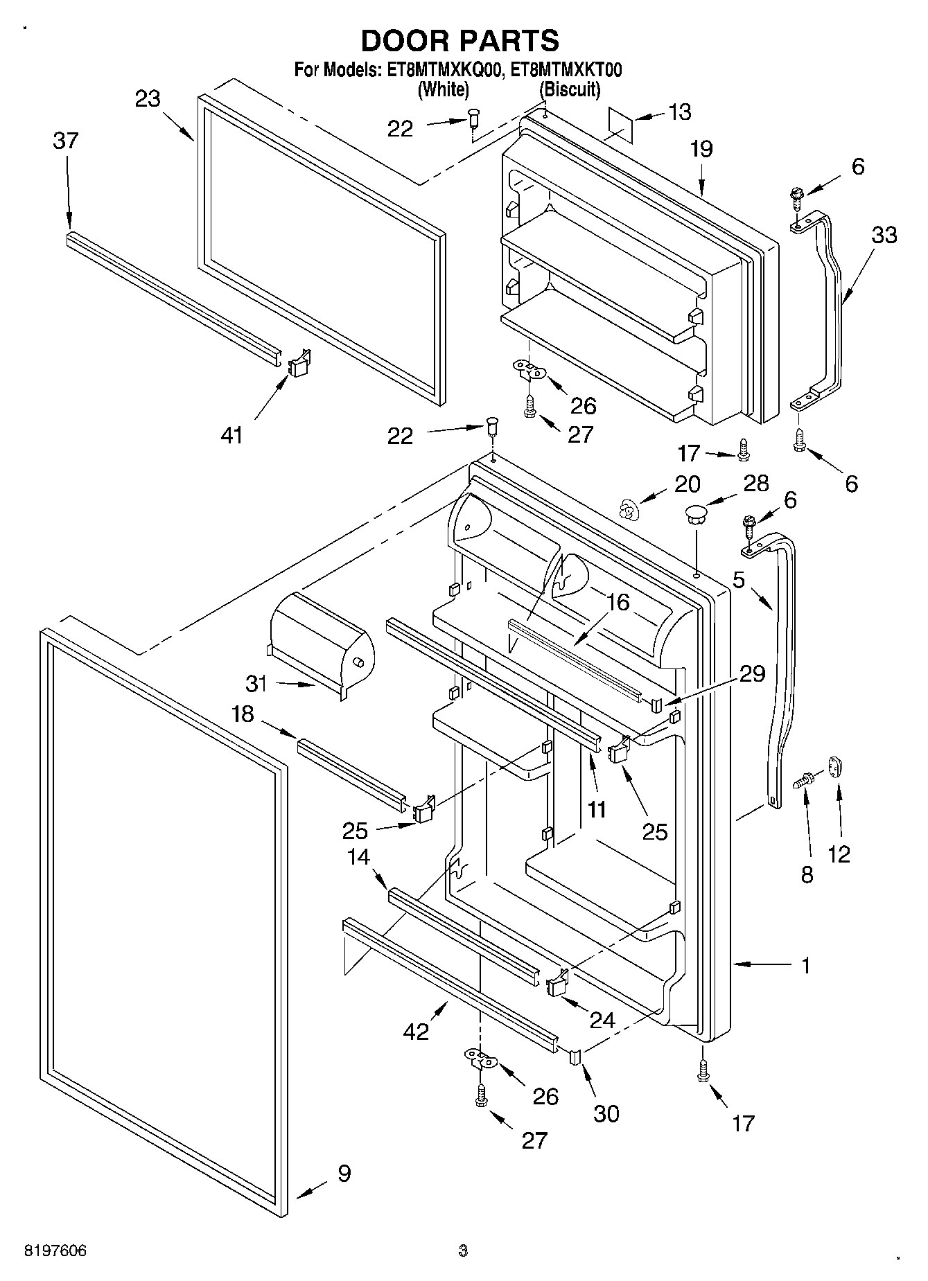
ET8MTMXKT00 02 – DOOR