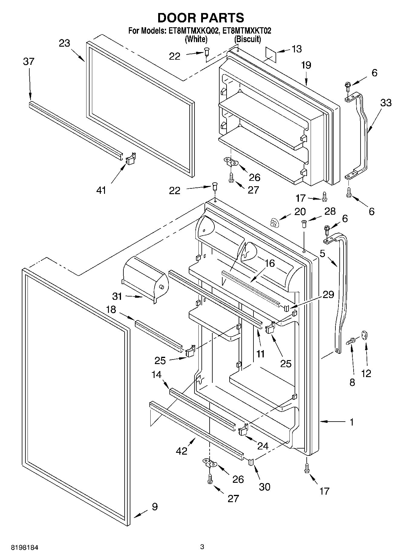
| 1 | Refrigerator Door (Includes No.9 & No.22) (White) |
| 1 | Refrigerator Door (Includes No.9 & No.22) (Biscuit) |
| 5 | WP2202807W Whirlpool Handle Door |
| 5 | Handle Center (Biscuit) |
| 6 | WP489357 Whirlpool Recessed Screw |
| 8 | WP8281146 Whirlpool Screw |
| 9 | 2159057 Whirlpool Refrigerator Fresh Food Door Gasket |
| 11 | Trim, Door Shelf |
| 12 | WP2202819W Whirlpool Refrigerator Cover |
| 12 | Cover, Screw (Biscuit) |
| 13 | Nameplate (White) |
| 13 | Nameplate (Biscuit) |
| 14 | WP2195943 Whirlpool Shelf Retainer Bar |
| 16 | TRIM-DOOR |
| 17 | WP8281206 Whirlpool Refrigerator Screw |
| 18 | Trim, Door |
| 19 | Freezer Door (Includes Illus. 4,17 & 18) (Biscuit) |
| 19 | Freezer Door (Includes Illus. 4, 17 & 18) (White) |
| 20 | WP2189000 Whirlpool Refrigerator Handle Plug |
| 20 | WP2200936 Whirlpool Refrigerator Handle Plug |
| 22 | WP2183003 Whirlpool Thimble |
| 23 | 2159327 Whirlpool Refrigerator Door Gasket |
| 24 | WP2195915 Whirlpool Door Shelf Support |
| 26 | W11745278 Whirlpool Bracket |
| 27 | WP488921 Whirlpool Refrigerator Screw |
| 28 | WP2212648 Whirlpool Refrigerator Hinge Sleeve Hole Plug |
| 28 | WP2212649 Whirlpool Refrigerator Button Plug |
| 29 | ENDCAP-TRM |
| 30 | WP2156006 Whirlpool Refrigerator Shelf Trim Endcap |
| 31 | WP2218113 Whirlpool Dairy Door |
| 33 | WP2202806W Whirlpool Refrigerator Handle |
| 33 | Handle, F.C. (Biscuit) |
| 37 | Trim-Door (2) |
| 41 | WP2156003 Whirlpool Refrigerator Door Shelf End Cap |
| 42 | WPW10421484 Whirlpool Refrigerator Door Trim |