| 350930 Whirlpool White Spray Paint |
| WP279368 Whirlpool High-Temperature Silicone Rubber Adhesive |
| WP978025 Whirlpool Refrigerator Valve |
| VALVE, ACCESS (1/2``) |
| WPL LIT789109 |
| Enamel, Black (1 Qt. Uncut) |
| WPL 799832 |
| 285006 Whirlpool Spray |
| 72032 Whirlpool Touch Up Paint Black |
| WPL LIT727622 |
| WPL LIT727855 |
| Kit, Insulation (Door Only) |
| Leveler (Thinner) (2oz.) |
| WPL LIT727649 |
| WPL LIT656493 |
| Transformer (115-230 Volt) |
| 978027 Whirlpool Refrigerator Primary Valve |
| WP505587 Whirlpool Refrigerator Sealer |
| WP72107 Whirlpool Touchup |
| Almond (Uncut) |
| 72017 Whirlpool Appliance Touch-Up Paint White |
| VALVE, ACCESS (5/8``) |
| 350956 Whirlpool Spray Assembly |
| 978030 Whirlpool Refrigerator Valve |
| 212643 Whirlpool Refrigerator Permagum Sealer |
| 350942 Whirlpool Spray Paint |
| 511873 Whirlpool Refrigerator Paint |
| 606755 Whirlpool Refrigerator Bag |
| 833938 Whirlpool Refrigerator Terminal |
| 978026 Whirlpool Refrigerator Primary Valve |
| 799344 Whirlpool Refrigerator Paint |
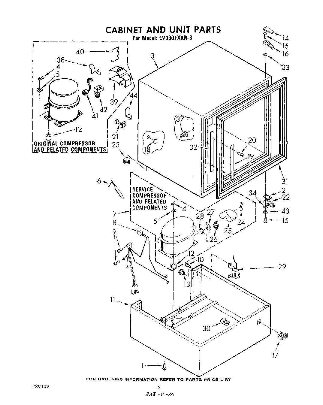
| 1 | WP489069 Whirlpool Compactor Screw |
| 2 | Spacer, Hinge |
| 3 | Cabinet (Not A Serviceable Part) |
| 4 | clip (4) |
| 5 | Washer |
| 6 | W10843121 Whirlpool Refrigerator Tube |
| 7 | Compressor (Service Replacement) (Includes Items 13, 14, 15, 16 & 17) |
| 8 | Harness, Wiring |
| 9 | Screw |
| 10 | Screw |
| 11 | Base, Cabinet |
| 12 | 876811 Whirlpool Grommet |
| 13 | Knob, Control |
| 14 | Cover, Hinge |
| 15 | Screw |
| 16 | Hinge, Top |
| 17 | Light, Indicator |
| 18 | Hole Plug (2) |
| 19 | Strike, Door |
| 20 | Screw |
| 21 | Spacer (2) |
| 22 | Hinge, Bottom |
| 23 | Grommet |
| 24 | Cover, Spring |
| 25 | WPL 549505 |
| 26 | Relay |
| 27 | Spring, Overload |
| 28 | Overload |
| 29 | Control |
| 30 | Clamp, Wire |
| 31 | Collar Breaker |
| 32 | Plate, Strike |
| 33 | Lockwasher (3) |
| 34 | WP487576 Whirlpool Washer |
| 37 | Grommet |
| 38 | Clip (Used W/Original Compressor) |
| 39 | Cover, Relay & Overload Assembly (Used W/Original Compressor) |
| 40 | Clamp (Used W/Original Compressor) |
| 41 | Overload (W/Original Compressor) |
| 42 | Relay (W/Original Compressor) |
| 43 | WP487802 Whirlpool Refrigerator Washer |
| 44 | Clip, Cord Plug |