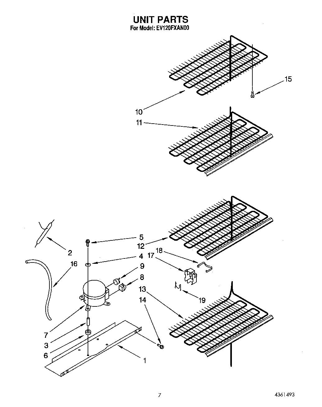
| 1 | Compressor Mounting Pan |
| 2 | W10843121 Whirlpool Refrigerator Tube |
| 3 | 4356846 Whirlpool Refrigerator Sleeve |
| 4 | Washer |
| 5 | Screw, Compressor Mounting |
| 6 | Compressor Grommet |
| 7 | Compressor |
| 8 | Relay |
| 9 | Overload |
| 10 | Evaporator Top |
| 11 | Evaporator Shelf |
| 12 | Evaporator Shelf |
| 13 | Evaporator Shelf |
| 14 | WP3-24838-048 Whirlpool Refrigerator Screw |
| 15 | Evaporator, Mounting Screw |
| 16 | Heat Exchanger |
| 17 | Cover |
| 18 | Clip, Cover |
| 19 | Clip, Overload |