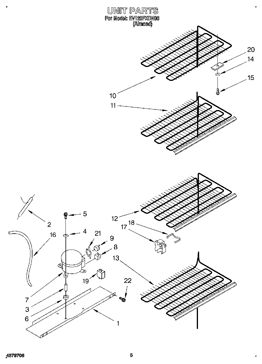
EV120FXDN00 03 – UNIT