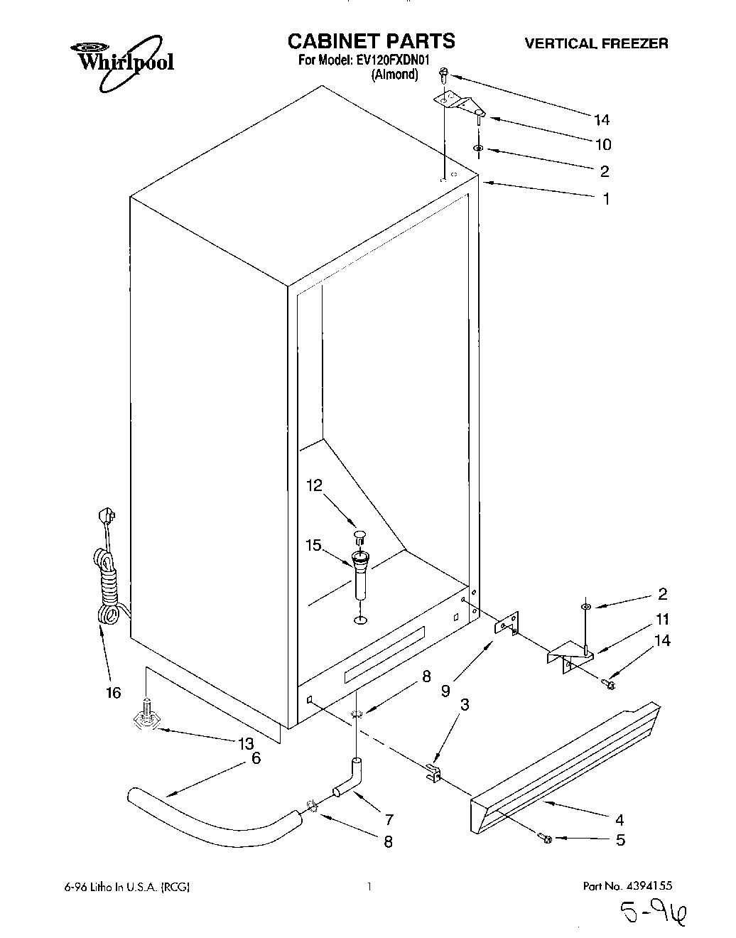
EV120FXDN01 01 – CABINET