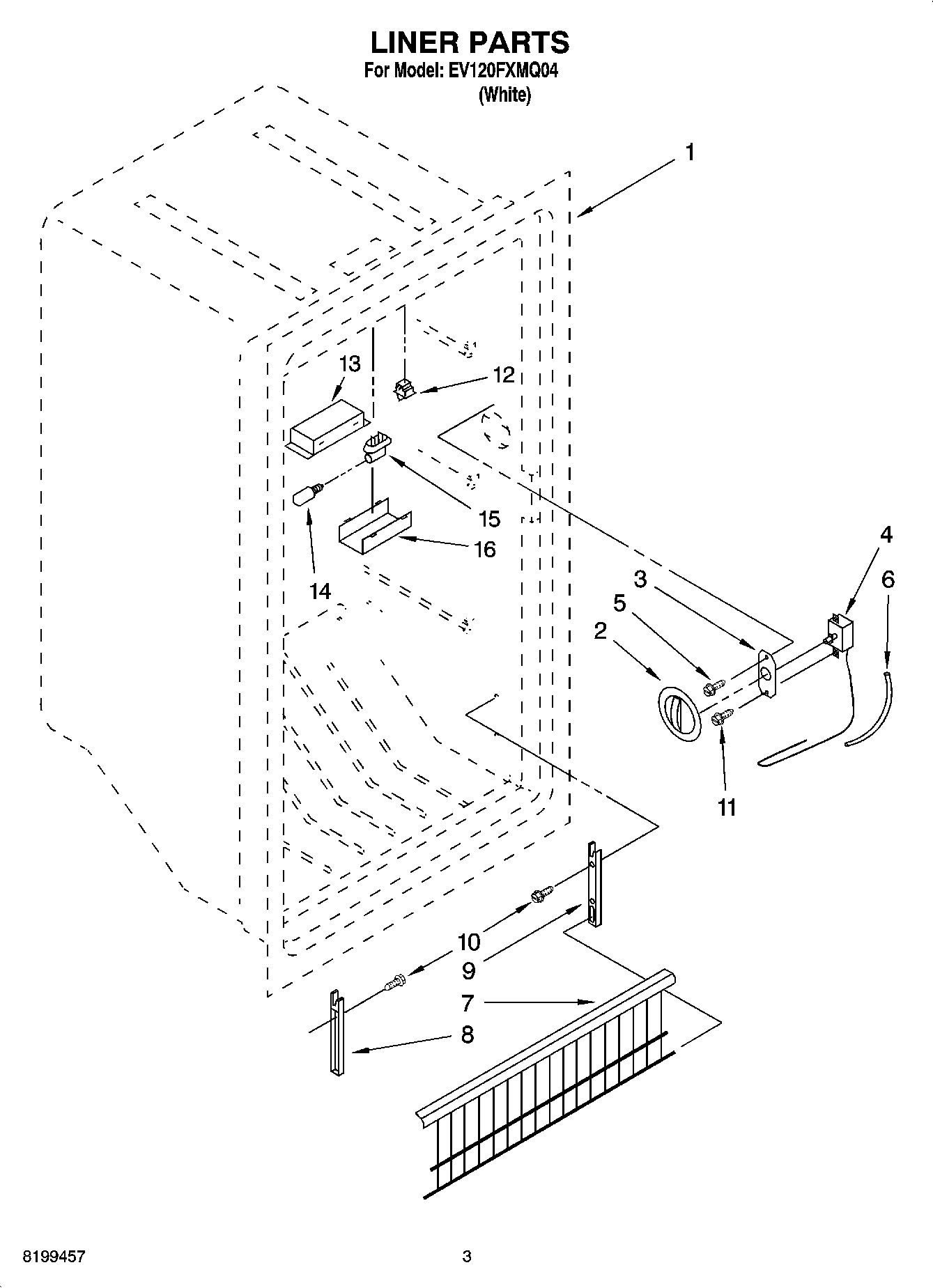
EV120FXMQ04 02 – LINER PARTSadmin2025-04-26T11:10:36+00:00EV120FXMQ04 02 – LINER PARTS ProductsPositionProduct1Liner (Not A Serviceable Part)2Control Knob31-81154 Whirlpool Plate4Thermostat5WPW10068250 Whirlpool Dishwasher Screw6WP2196003 Whirlpool Refrigerator Bar Riser7Gate8Support, Fence (L.H)9Support, Fence (R.H)10Screw11SCREW12W11384469 Whirlpool Door Switch13Bracket14W10873798 Whirlpool Refrigerator Light Bulb15Socket, Light16Shield, Light