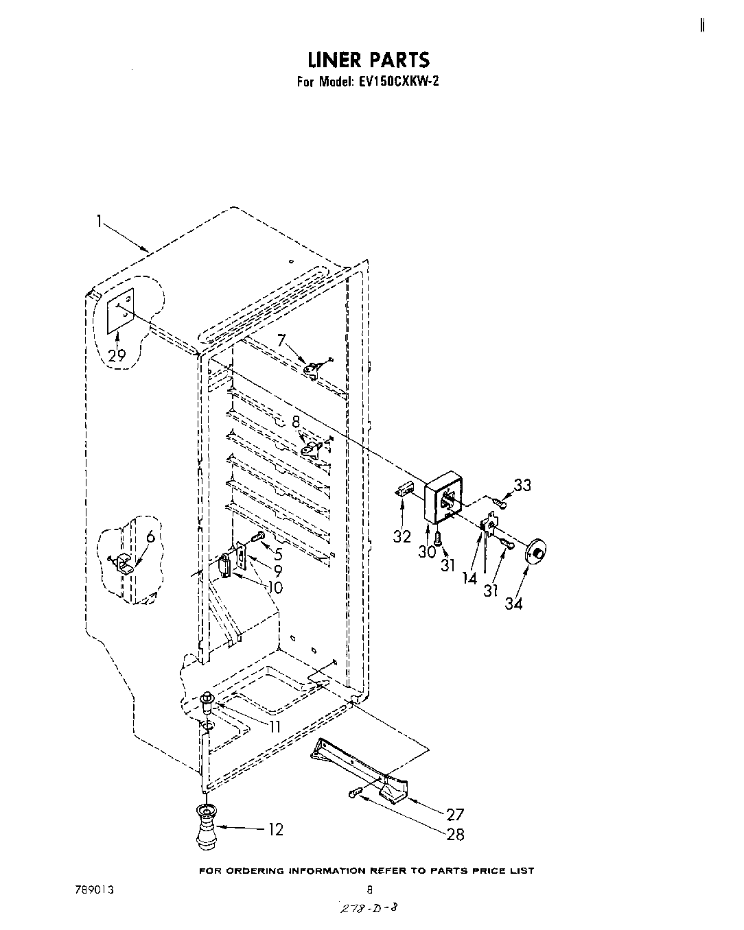
| 1 | Liner (Not A Serviceable Part) |
| 6 | Stud, Shelf (6) |
| 7 | Stud, Shelf (2) |
| 8 | Stud, Shelf (6) |
| 9 | Strike, Lock |
| 10 | Lock Strike, Back-Up |
| 11 | Drain, Ferrule Cap |
| 12 | Fitting, Drain |
| 14 | 4389248 Whirlpool Refrigerator Thermostat |
| 27 | Cover Tube, Bottom |
| 28 | W11693756 Whirlpool Screw Assembly |
| 28 | screw (repair) |
| 29 | Shield, Liner |
| 30 | Escutcheon, Thermostat |
| 31 | WP965173 Whirlpool Dishwasher Screw |
| 32 | Bracket & Switch Assembly |
| 34 | Knob, Thermostat |