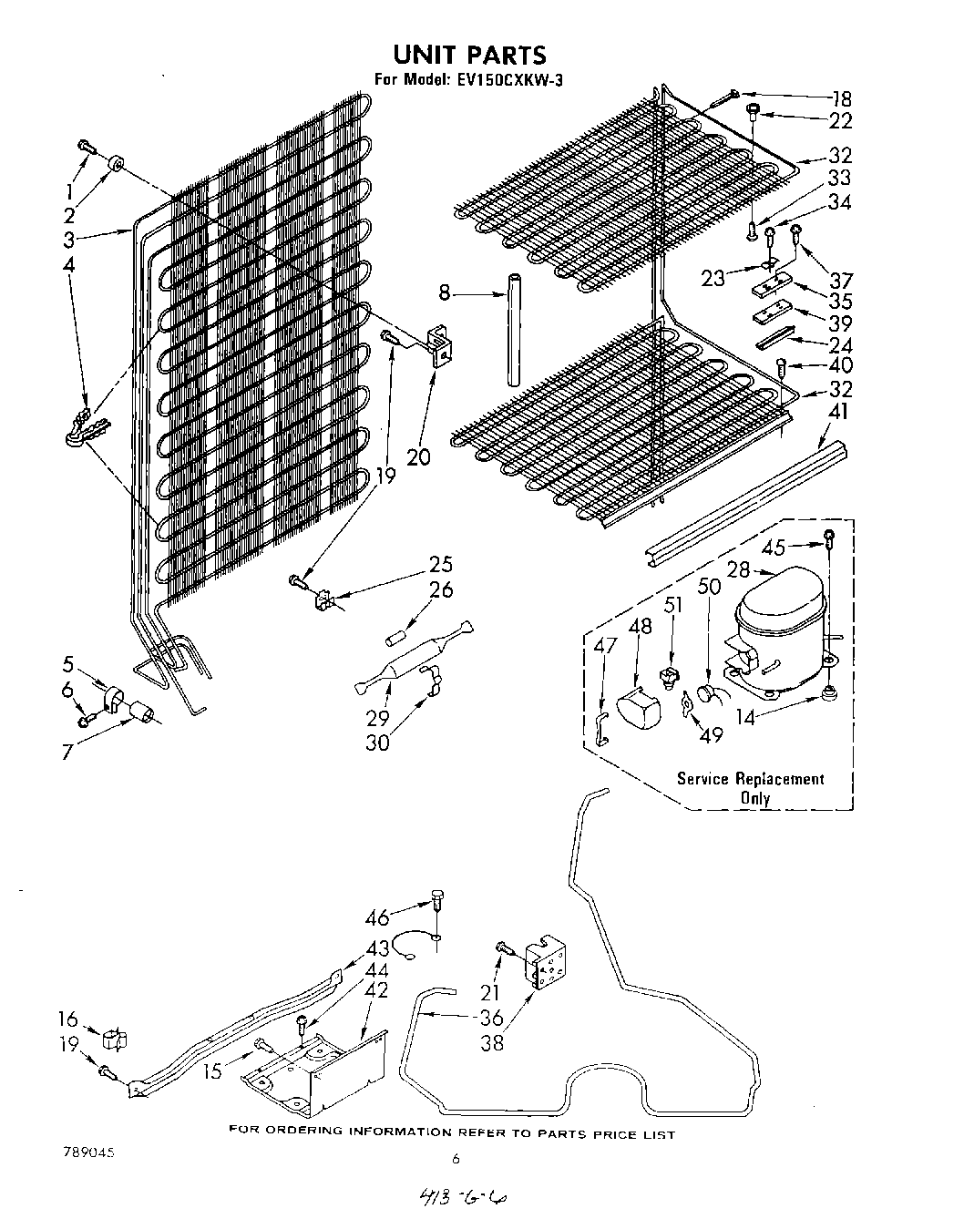
| 1 | Screw, 8 x 7/8 |
| 2 | Bumper, Rubber |
| 3 | Condenser & Precooler Assembly |
| 4 | Clip, Tube (2) |
| 5 | Clamp Tube |
| 6 | WPW10141625 Whirlpool Refrigerator Screw Assembly |
| 7 | dampener |
| 8 | Cover, Connecting Lines (11.5 Inches) |
| 8 | Cover, Connecting Lines (15 Inches) |
| 8 | Cover, Connecting Lines (10 Inches) |
| 14 | Grommet (4) |
| 15 | 489340 Whirlpool Refrigerator Screw |
| 16 | W10812038 Whirlpool Refrigerator Clip |
| 18 | Strap |
| 19 | WP489069 Whirlpool Compactor Screw |
| 20 | Bracket, Condenser (2) |
| 21 | W11624204 Whirlpool Screw |
| 22 | Spacer (3) |
| 23 | PLATE |
| 24 | Clip |
| 25 | Clip, Condenser Mounting (2) |
| 26 | Restrictor Sleeve |
| 28 | Compressor (Includes Items 32, 33, 34, 35 & 36) (Also Order 876765 Tube Kit) |
| 29 | W10843121 Whirlpool Refrigerator Tube |
| 30 | Drier Clamp |
| 32 | Evaporator Shelves (Shelf, Bottom) |
| 32 | Evaporator Assembly (Shelf, Top) |
| 32 | Evaporator Shelves (Shelf, 2nd) |
| 32 | Evaporator Shelves (Shelf, 3rd) |
| 33 | WP488163 Whirlpool Refrigerator Screw |
| 34 | Screw, 8-32 x 7/16 |
| 35 | Shim, Thermostat Plate |
| 36 | Heat Exchanger |
| 37 | Screw, 8-32 x 1/2 |
| 38 | Box, Junction |
| 39 | Plate, Thermostat |
| 40 | Screw (Repair) |
| 40 | WP308685 Whirlpool Microwave Screw |
| 41 | Trim, Shelf Front (3) |
| 42 | Unit Mounting Plate |
| 43 | Unit Mounting Rail |
| 44 | WP965173 Whirlpool Dishwasher Screw |
| 45 | Screw, 1/4-28 x 1`` (4) |
| 46 | 303776 Whirlpool Dishwasher Screw |
| 47 | Cover, Spring |
| 48 | Cover, Terminal |
| 49 | Spring, Overload |
| 50 | overload |
| 51 | Relay |
| 51 | 978026 Whirlpool Refrigerator Primary Valve |
| 51 | VALVE, ACCESS (1/2``) |
| 51 | VALVE, ACCESS (5/8``) |
| 51 | WP978025 Whirlpool Refrigerator Valve |
| 51 | 978030 Whirlpool Refrigerator Valve |
| 51 | 978027 Whirlpool Refrigerator Primary Valve |