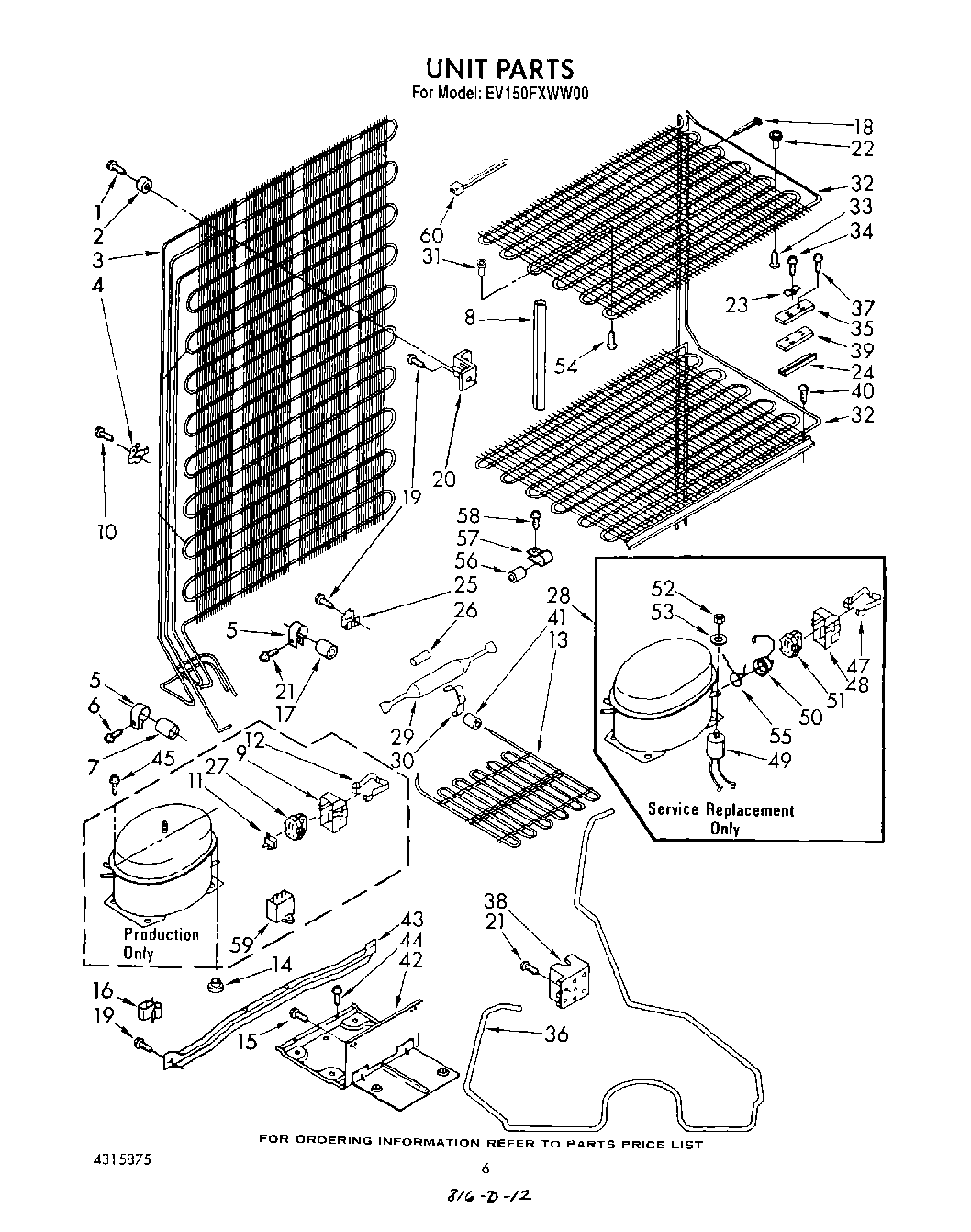
| 1 | Screw, 8 x 7/8 |
| 2 | Bumper, Rubber |
| 3 | Condenser Assembly |
| 4 | Clip, Tube |
| 5 | Clamp Tube |
| 6 | WPW10141625 Whirlpool Refrigerator Screw Assembly |
| 7 | Dampener |
| 8 | Cover, Connecting Lines (10 Inches) |
| 8 | Cover, Connecting Lines (15 Inches) |
| 8 | Cover, Connecting Lines (11.5 Inches) |
| 9 | Cover |
| 11 | Overload |
| 13 | Precooler |
| 14 | 876811 Whirlpool Grommet |
| 15 | 489340 Whirlpool Refrigerator Screw |
| 16 | W10812038 Whirlpool Refrigerator Clip |
| 17 | Dampener |
| 19 | WP489069 Whirlpool Compactor Screw |
| 20 | Condenser Bracket (Top) |
| 21 | W11624204 Whirlpool Screw |
| 22 | Spacer (3) |
| 23 | PLATE |
| 24 | Clip |
| 25 | 4386951 Whirlpool Refrigerator Clip |
| 26 | Restrictor Sleeve |
| 28 | Compressor (Includes Items 43, 44, 45, 46, 47, 51, & 52) (Also Order 482801 Mounting Kit & 876765 Tu |
| 29 | W10843121 Whirlpool Refrigerator Tube |
| 30 | Drier Clamp |
| 31 | Spacer (3) |
| 32 | Evaporator Assembly (Shelf, 3rd) |
| 32 | Evaporator Assembly (Shelf, Bottom) |
| 32 | Evaporator Assembly (Shelf, Top) |
| 32 | Evaporator Assembly (Shelf, 2nd) |
| 33 | WP488163 Whirlpool Refrigerator Screw |
| 34 | Screw, 8-32 x 7/16 |
| 35 | Shim, Thermostat Plate |
| 36 | Heat Exchanger |
| 37 | Screw, 8-32 x 1/2 |
| 38 | Junction Box |
| 39 | Plate, Thermostat |
| 40 | WP308685 Whirlpool Microwave Screw |
| 40 | Screw (Repair) |
| 41 | Dampener (4) |
| 42 | Plate Assembly, Unit Mounting |
| 43 | Unit Mounting Rail |
| 44 | WP965173 Whirlpool Dishwasher Screw |
| 47 | Strap |
| 48 | Cover, Terminal |
| 49 | Capacitor |
| 50 | Overload |
| 51 | WP2262181 Whirlpool Refrigerator Start Relay |
| 52 | Nut |
| 53 | Washer |
| 54 | Screw, 8-32 x 1-1/2 |
| 55 | Overload Spring |
| 56 | WPL 1118889 |
| 57 | WPL 1115557 |
| 58 | WP489128 Whirlpool Refrigerator Screw |
| 59 | WPW10662129 Whirlpool Refrigerator Run Capacitor |
| 60 | 978026 Whirlpool Refrigerator Primary Valve |
| 60 | 978027 Whirlpool Refrigerator Primary Valve |
| 60 | 978030 Whirlpool Refrigerator Valve |
| 60 | WP978025 Whirlpool Refrigerator Valve |
| 60 | VALVE, ACCESS (1/2``) |
| 60 | Strap |
| 60 | VALVE, ACCESS (5/8``) |
| 60 | 876764 Whirlpool Refrigerator Primary Valve |