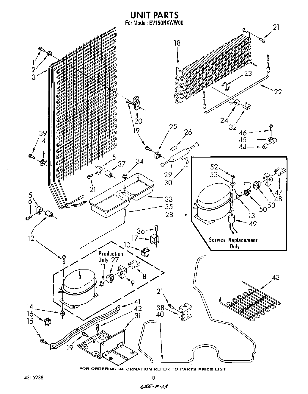
EV150NXWN00 06 – UNIT