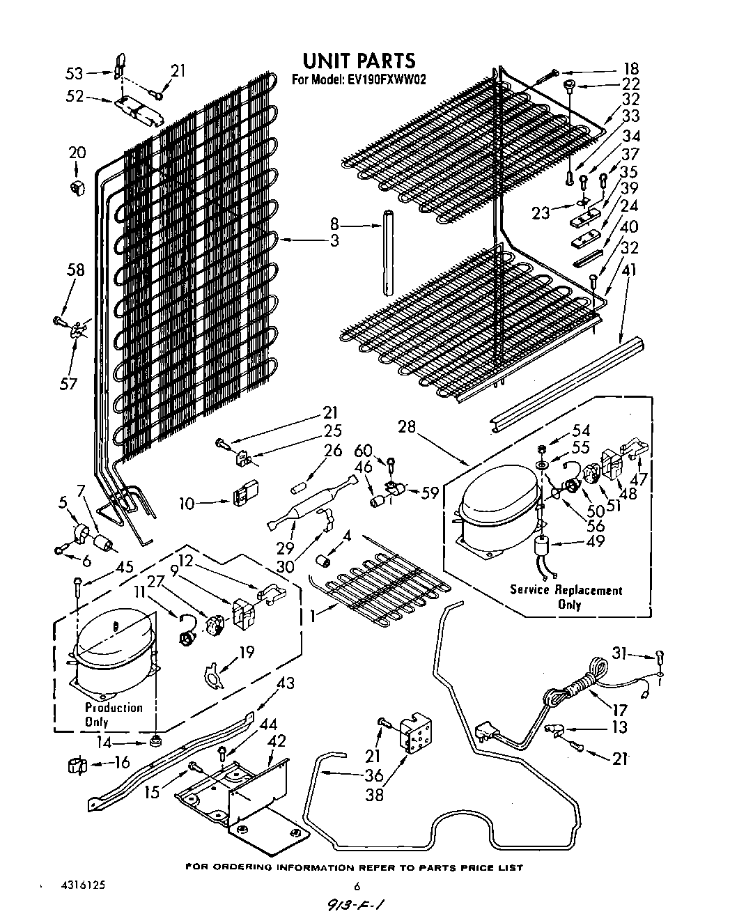
| 1 | Precooler, Assembly |
| 3 | Condenser & Precooler Assembly |
| 4 | Dampener (4) |
| 5 | Clamp Tube |
| 6 | WPW10141625 Whirlpool Refrigerator Screw Assembly |
| 7 | WP2158826 Whirlpool Refrigerator Dampener |
| 8 | Cover, Connecting Lines (10 Inches) |
| 8 | Cover, Connecting Lines (11.5 Inches) |
| 8 | Cover, Connecting Lines (15 Inches) |
| 9 | Case, Relay |
| 10 | Receptacle |
| 11 | Overload |
| 12 | Spring, Case |
| 13 | 549193 Whirlpool Refrigerator Power Clamp |
| 14 | 876811 Whirlpool Grommet |
| 16 | W10812038 Whirlpool Refrigerator Clip |
| 17 | Cord, Service |
| 18 | Strap |
| 19 | Overload Spring |
| 20 | Bumper (2) |
| 21 | WP489478 Whirlpool Refrigerator Screw |
| 22 | Spacer (3) |
| 23 | PLATE |
| 24 | Clip |
| 25 | 4386951 Whirlpool Refrigerator Clip |
| 26 | Restrictor Sleeve |
| 27 | Relay (Used On Service Compressor 702215) |
| 28 | Compressor (Includes Items 43, 44, 45, 46, 47, 51, & 52) (Also Order 482801 Mounting Kit & 876765 Tu |
| 29 | W10843121 Whirlpool Refrigerator Tube |
| 30 | Clamp, Dryer |
| 31 | Screw, 8-32 x 3/8 |
| 32 | Evaporator Assembly (Shelf, 2nd) |
| 32 | Evaporator Assembly (Shelf, Top) |
| 32 | Evaporator Assembly (Shelf, 3rd) |
| 32 | Evaporator Assembly (Shelf, Bottom) |
| 33 | Screw, 8-32 x 1-1/2 |
| 34 | Screw, 8-32 x 7/16 |
| 35 | Shim, Thermostat Plate |
| 36 | Heat Exchanger |
| 37 | Screw, 8-32 x 1/2 |
| 38 | Junction Box |
| 39 | Plate, Thermostat |
| 40 | WP308685 Whirlpool Microwave Screw |
| 41 | Trim, Shelf |
| 42 | Plate, Unit Mounting |
| 43 | Unit Mounting Rail |
| 44 | WP965173 Whirlpool Dishwasher Screw |
| 46 | Dampener (2) |
| 47 | Strap |
| 48 | Cover, Terminal |
| 49 | Capacitor |
| 50 | Overload |
| 51 | WP2262181 Whirlpool Refrigerator Start Relay |
| 52 | Condenser, Stand-Off |
| 53 | Clip, Stand Off |
| 54 | Nut |
| 55 | Washer |
| 56 | Overload Spring |
| 57 | Clip, Tube |
| 59 | WPL 1115557 |
| 60 | 876764 Whirlpool Refrigerator Primary Valve |
| 60 | VALVE, ACCESS (5/8``) |
| 60 | VALVE, ACCESS (1/2``) |
| 60 | WP489128 Whirlpool Refrigerator Screw |
| 60 | 978026 Whirlpool Refrigerator Primary Valve |
| 60 | 978027 Whirlpool Refrigerator Primary Valve |
| 60 | 978030 Whirlpool Refrigerator Valve |
| 60 | WP978025 Whirlpool Refrigerator Valve |