| *12776 | RIVET-POP, WARING-PLATE |
| *12777 | WCI 5303280311 |
| *12778 | 5303271648 Frigidaire Oven Screw |
| *12779 | 5303300265 Frigidaire Oven Screw |
| *12762 | WCI 5303269859 |
| *12780 | SCREW, CR PAN HD SEMS, 8-32BP X 1.00 |
| *12775 | WCI 316065300 |
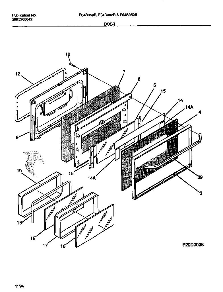
| 3 | WCI 316067802 |
| 4 | GLASS-OVEN DOOR, BLACK, OUTER |
| 5 | GLASS-OVEN DOOR, INNER |
| 6 | SHIELD-INSULATION |
| 7 | INSULATION-OVEN DOOR |
| 9 | WCI 316066603 |
| 10 | SCREW-OVEN DOOR, WASHER HEAD, 10-24 X 1.81 |
| 12 | 5303131601 Frigidaire Oven Seal |
| 14A | 5303208655 Frigidaire Reflector Assembly |
| 14 | REFLECTOR, ALUMINUM FOIL |
| 15 | BRACKET-GLASS MTG |
| 16 | GLASS-OVEN DOOR, HEAT BARRIER, (2) |
| 17 | WCI 5303209517 |
| 18 | SEAL-ROPE, 0.25 DIA |
| 19 | WCI 316067600 |
| 39 | 5304529996 Frigidaire Handle Kit |