| *12763 | RIVET-POP, WARING-PLATE |
| *12781 | WCI 316065300 |
| *12764 | SCREW, CR PAN HD SEMS, 8-32BP X 1.00 |
| *12765 | WCI 5303269859 |
| *12766 | 5303285179 Frigidaire Oven Door Screw |
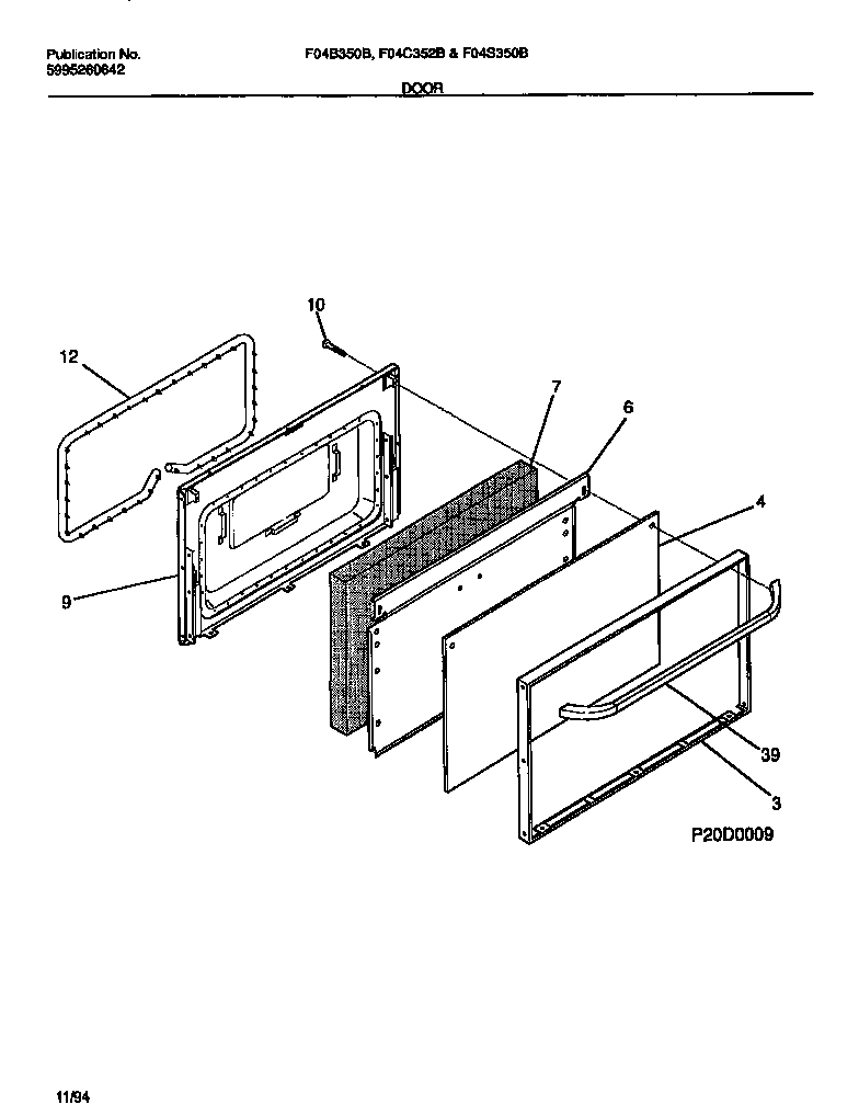
| 3 | WCI 5303209518 |
| 3 | WCI 316067802 |
| 4 | GLASS-FRONT-BLACK |
| 6 | WCI 5303209317 |
| 7 | INSULATION-OVEN DOOR |
| 9 | WCI 316066602 |
| 10 | SCREW-OVEN DOOR, WASHER HEAD, 10-24 X 1.81 |
| 12 | 5303131601 Frigidaire Oven Seal |
| 39 | 5304529996 Frigidaire Handle Kit |