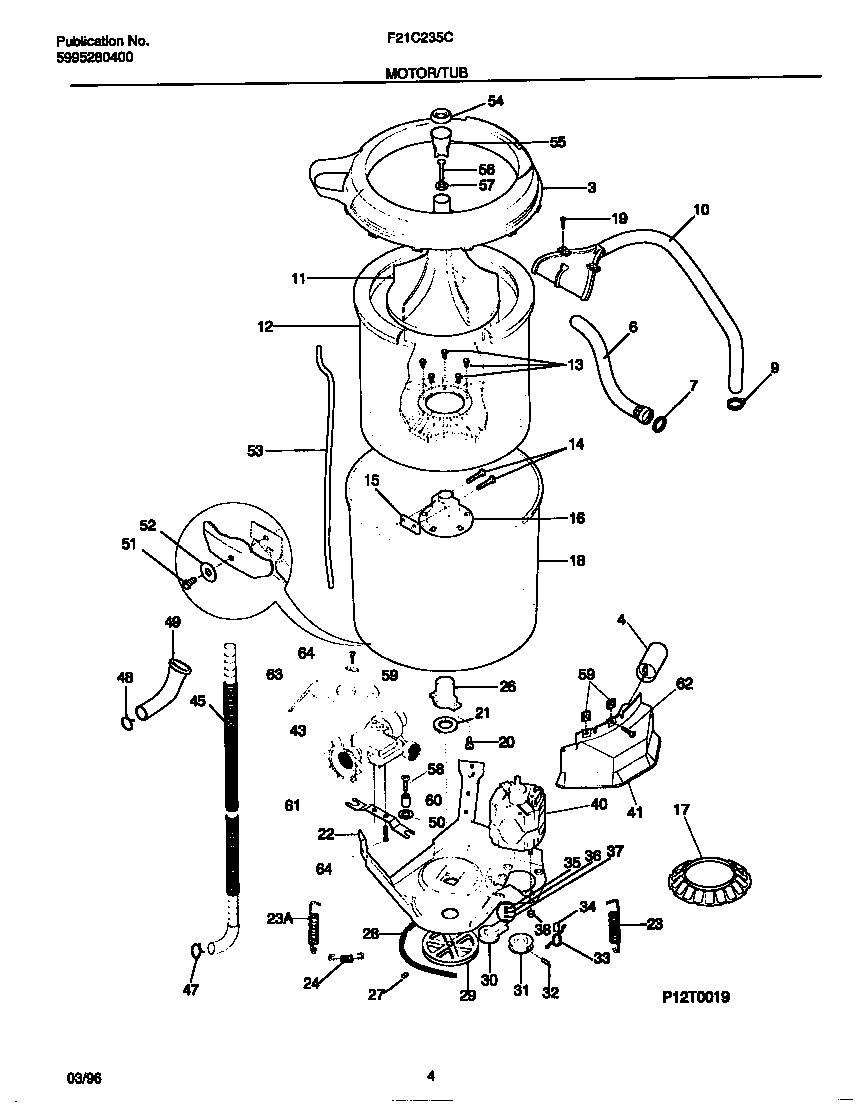
F21C235CS2 03 – MOTOR/TUB

F21C235CS2 03 – MOTOR/TUB