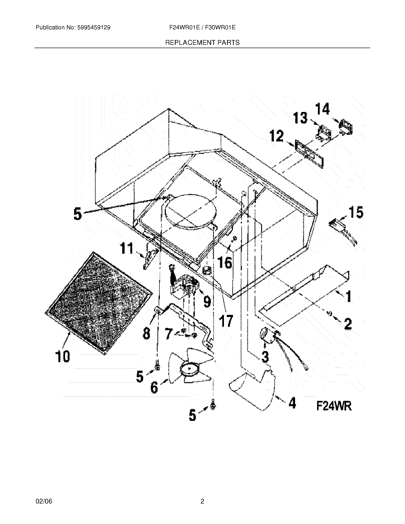
F24WR01ES 03 – REPLACEMENT PARTSadmin2025-04-26T08:55:35+00:00F24WR01ES 03 – REPLACEMENT PARTS ProductsPositionProduct1WCI 53044523552WCI 53032819503WCI 53044523564WCI 30517675WCI 53044523576WCI 53044523677WCI 53044523598WCI 30517669WCI 530445236810Filter,duct-free ,charcoal ,6-pk(Optional Accessory)11WCI 530441374312WCI 530445237113WCI 530445239314WCI 530445239615WCI 530445236616WCI 530328201517WCI 5303282136