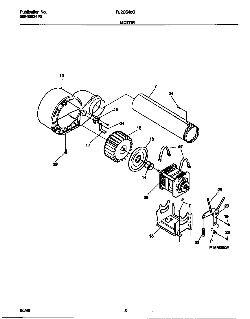
F32C546CS1 05 – MOTOR