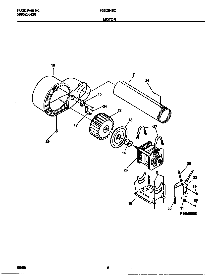
F32C546CT1 05 – MOTOR