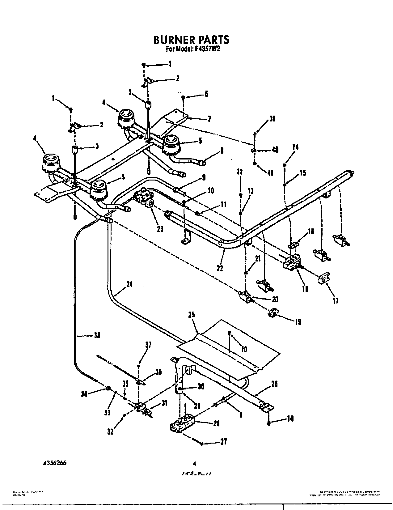
F4357W2 04 – BURNER